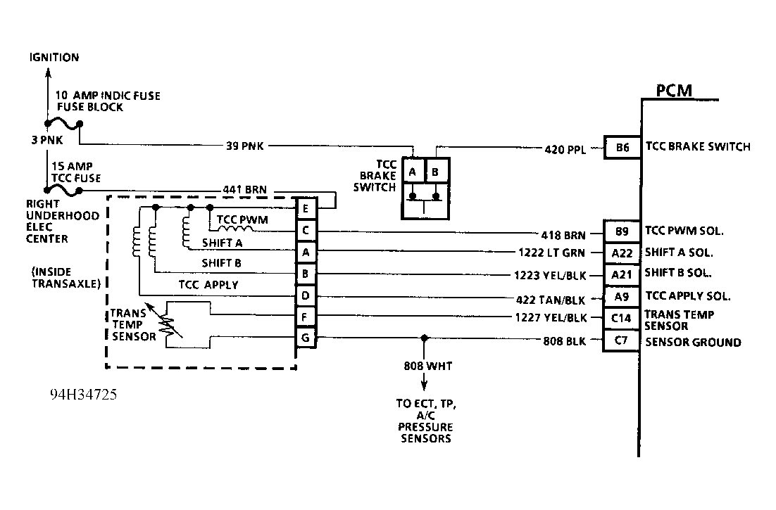
Diagnostic Aids
An intermittent may be caused by a poor connection, rubbed through wire insulation or a wire broken inside insulation. Check for:
- Poor Connection Or Damaged Harness: Inspect PCM harness connectors for backed out terminals, improper mating, broken locks, improperly formed or damaged terminals, poor terminal to wire connection, and damaged harness.
- Intermittent Test: If connections and harness are okay, monitor a DVOM connected between related PCM terminals and ground while moving related connectors and wiring harness. If failure is induced, voltage reading will change. This may assist in isolating malfunction.