LEMON Manuals: Even more car manuals for everyone: 1960-2025
Home >> Chevrolet >> 2000 >> Camaro V6-3.8L VIN K >> Repair and Diagnosis >> Cruise Control >> Diagrams >> Electrical Diagrams >> Cruise Control Schematics >> Cruise Control Module and Powertrain Control Module
April 5, 2026: LEMON Manuals is launched! Read the announcement.

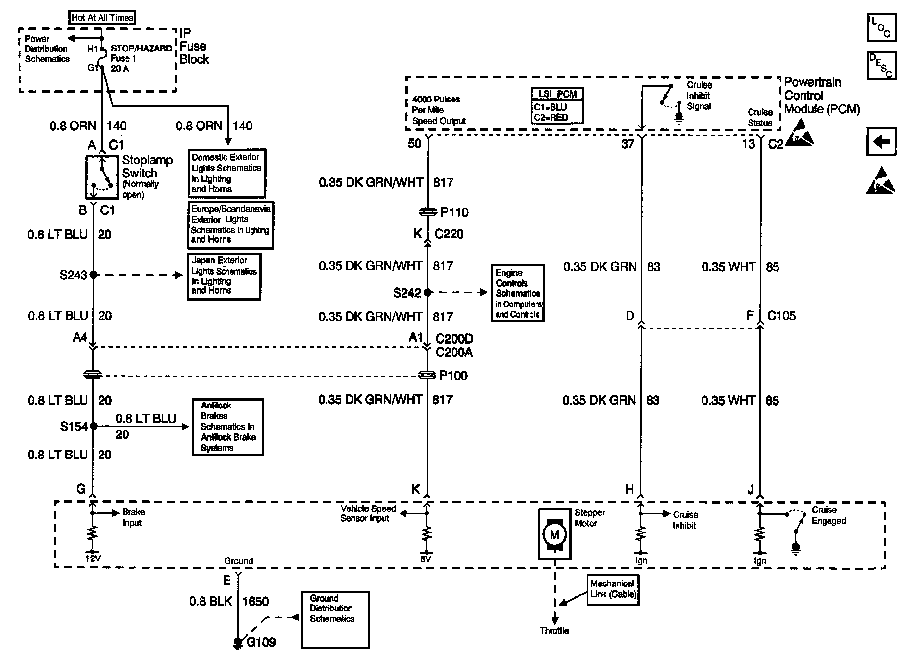
Cruise Control Module and Powertrain Control Module

Cruise Control Schematics: Cruise Control Module And Powertrain Control Module: