LEMON Manuals: Even more car manuals for everyone: 1960-2025
Home >> Chevrolet >> 2000 >> Camaro V6-3.8L VIN K >> Repair and Diagnosis >> Diagrams >> Electrical Diagrams >> Powertrain Management >> Computers and Control Systems >> Body Control Module >> Body Control Module System Outputs
April 5, 2026: LEMON Manuals is launched! Read the announcement.

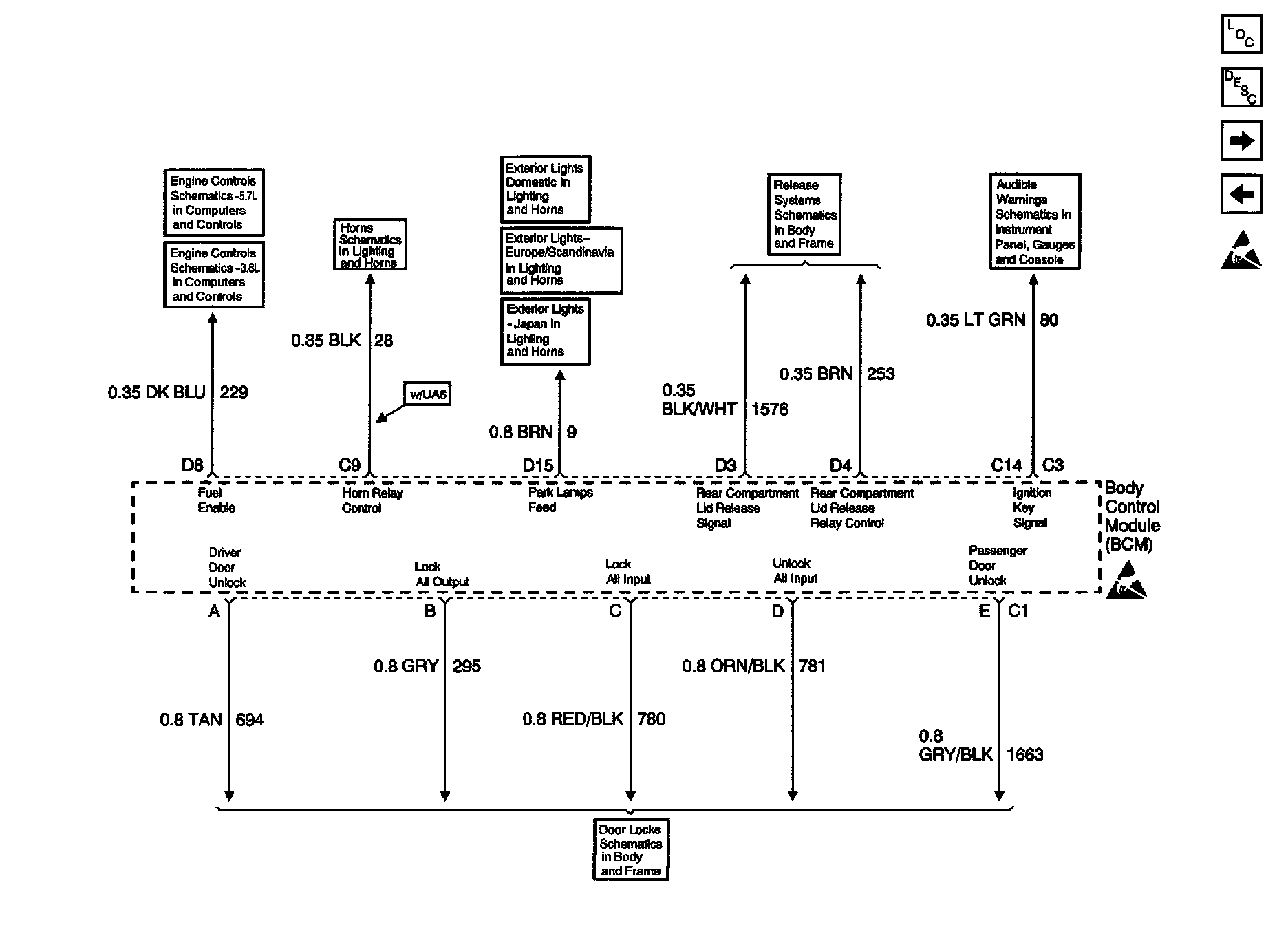
Body Control Module System Outputs

Body Control Module Schematics: Body Control Module System Outputs: