LEMON Manuals: Even more car manuals for everyone: 1960-2025
Home >> Chevrolet >> 2001 >> Cavalier LS, 2.2 4 >> Repair and Diagnosis >> Body & Frame >> Windows >> Power Window System >> System Tests >> Test C: Lockout Function Inoperative
April 5, 2026: LEMON Manuals is launched! Read the announcement.

Test C: Lockout Function Inoperative

  1. If door system diagnostic system check has been performed, go to next step. If door system diagnostic system check has not been performed, go to DOOR SYSTEM DIAGNOSTIC SYSTEM CHECK  under SELF-DIAGNOSTIC SYSTEM.
  2. Verify that rear window lockout function does not work properly. If lockout function does not operate properly, go to next step. If lockout function operates properly, go to DOOR SYSTEM DIAGNOSTIC SYSTEM CHECK  under SELF-DIAGNOSTIC SYSTEM.
  3. NOTE: Splice in Dark Blue wire is located 27" (686 mm) from passenger seat belt switch harness connector.
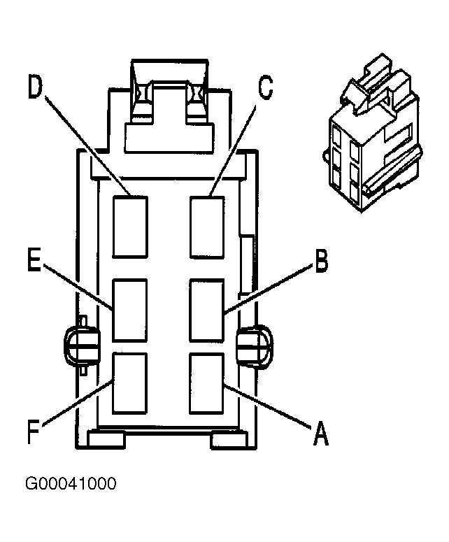
  4. Disconnect master window switch 6-pin harness connector C1, located in center console. Check for open, short to voltage and short to ground in Dark Blue wire between master window switch harness connector C1 terminal "D" and rear window switches. See Figure . If problem is not found, go to next step. If problem is found, repair Dark Blue wire as necessary. After repairs, go to step  5 .
  5. Replace master window switch. See MASTER WINDOW SWITCH  under REMOVAL & INSTALLATION. After repairs, go to next step.
  6. Operate lockout function to verify repair. If lockout function operates correctly, system is okay. If lockout function does not operate correctly, go to step  2 .