LEMON Manuals: Even more car manuals for everyone: 1960-2025
Home >> Chevrolet >> 2002 >> Venture Plus >> Repair and Diagnosis >> Brakes >> Traction Control >> Anti-Lock Brake System >> Repair Instructions >> Electronic Brake Control Module (EBCM) Replacement >> Installation Procedure
April 5, 2026: LEMON Manuals is launched! Read the announcement.

Installation Procedure

NOTE: Care must be taken not to damage the solenoid valves when the EBCM is assembled to the BPMV. Note the location and the placement of the wave spring in order to aid during installation.
  1. Clean the BPMV surface with alcohol using a clean rag.
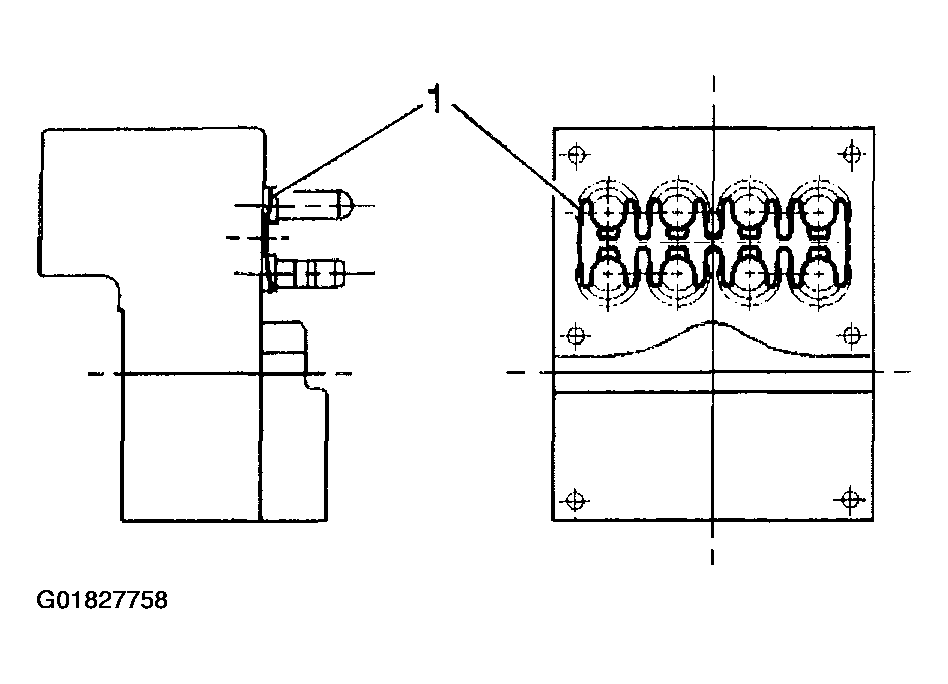
  2. Install the EBCM (1) to the BPMV.
    NOTE: Refer to FASTENER NOTICE .
  3. Install the 6 screws that attaches the EBCM to BPMV.

    Tighten 

    • Tighten the top 4 mounting screws to 2.9 N.m (26 lb in). Tighten screws in an X pattern.
    • Tighten the bottom 2 mounting screws to 2.9 N.m (26 lb in).
    Fig 1: Installing EBCM To BPMV
    G01827758Courtesy of GENERAL MOTORS CORP.
  4. Install the cylinder master to the brake booster.
  5. Install the master cylinder mount nuts (1).

    Tighten 

    Tighten the 2 nuts to 25 N.m (18 lb ft).

  6. Connect the pump motor connector to the bottom of the EBCM.
    Fig 2: Installing Master Cylinder Mount & Nuts
    G01827759Courtesy of GENERAL MOTORS CORP.
  7. Connect the EBCM harness connector and depress the locking tab (1) to secure.
  8. Install the air cleaner housing.
  9. Turn the ignition switch to the RUN position, do not start engine.
  10. Perform the DIAGNOSTIC SYSTEM CHECK - ABS .
    Fig 3: EBCM Harness Connector
    G01827760Courtesy of GENERAL MOTORS CORP.