LEMON Manuals: Even more car manuals for everyone: 1960-2025
Home >> Chevrolet >> 2002 >> Venture Plus >> Repair and Diagnosis >> Brakes >> Traction Control >> Anti-Lock Brake System >> Repair Instructions >> Electronic Brake Control Module (EBCM) Replacement >> Removal Procedure
April 5, 2026: LEMON Manuals is launched! Read the announcement.

Removal Procedure

NOTE: Always connect or disconnect the wiring harness connector from the EBCM/EBTCM with the ignition switch in the OFF position. Failure to observe this precaution could result in damage to the EBCM/EBTCM.
Fig 1: Removing Master Cylinder Mount & Nuts
G01827755Courtesy of GENERAL MOTORS CORP.
  1. Turn the ignition switch to the OFF position.
  2. Remove the air cleaner housing from the engine compartment.
  3. Remove the master cylinder mount nuts (1).
  4. Remove the master cylinder and place the master cylinder off to the side, do not disconnect the master cylinder brake pipes.
  5. Disconnect the EBCM harness connector.
  6. Brush off any dirt/debris that has accumulated on the assembly.
  7. Disconnect the pump motor connector (3) at the bottom of the EBCM.
  8. Remove the six EBCM to BPMV screws (2).
    Fig 2: Removing EBCM, BPMV & Screws
    G01827756Courtesy of GENERAL MOTORS CORP.
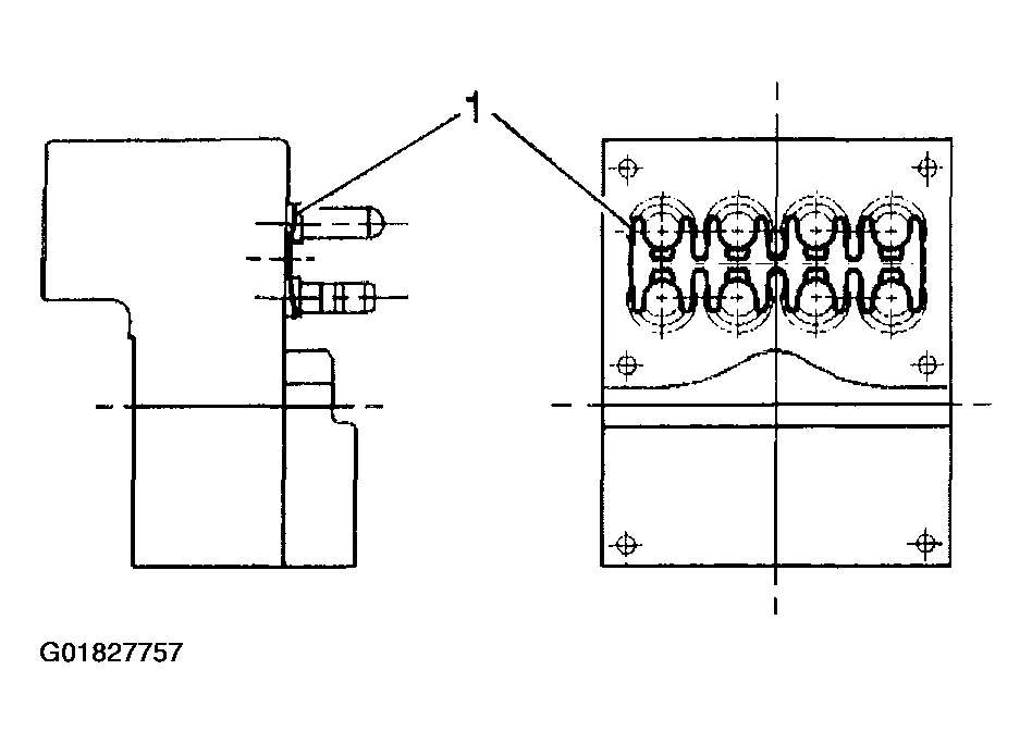
    NOTE: Care must be taken not to damage the solenoid valves when the EBCM is removed from the BPMV. Note the location and the placement of the wave spring in order to aid during installation.

    Important:  Do not pry apart using a tool. Be careful not to damage BPMV surface. Care must be taken not to damage the solenoid valves when the EBCM is removed from the BPMV.

  9. Separate the EBCM from the BPMV by gently pulling apart until separated (1).
    Fig 3: Separating EBCM From BPMV
    G01827757Courtesy of GENERAL MOTORS CORP.