LEMON Manuals: Even more car manuals for everyone: 1960-2025
Home >> Chevrolet >> 2003 >> Astro Van Cargo, AWD >> Repair and Diagnosis (Single Page) >> Transmission >> Transfer Case >> Transfer Case - NVG 136-NP4 >> Schematic and Routing Diagrams >> Transfer Case Control Schematics (Power, Ground, DLC, Transfer Case Encoder Motor)
April 5, 2026: LEMON Manuals is launched! Read the announcement.

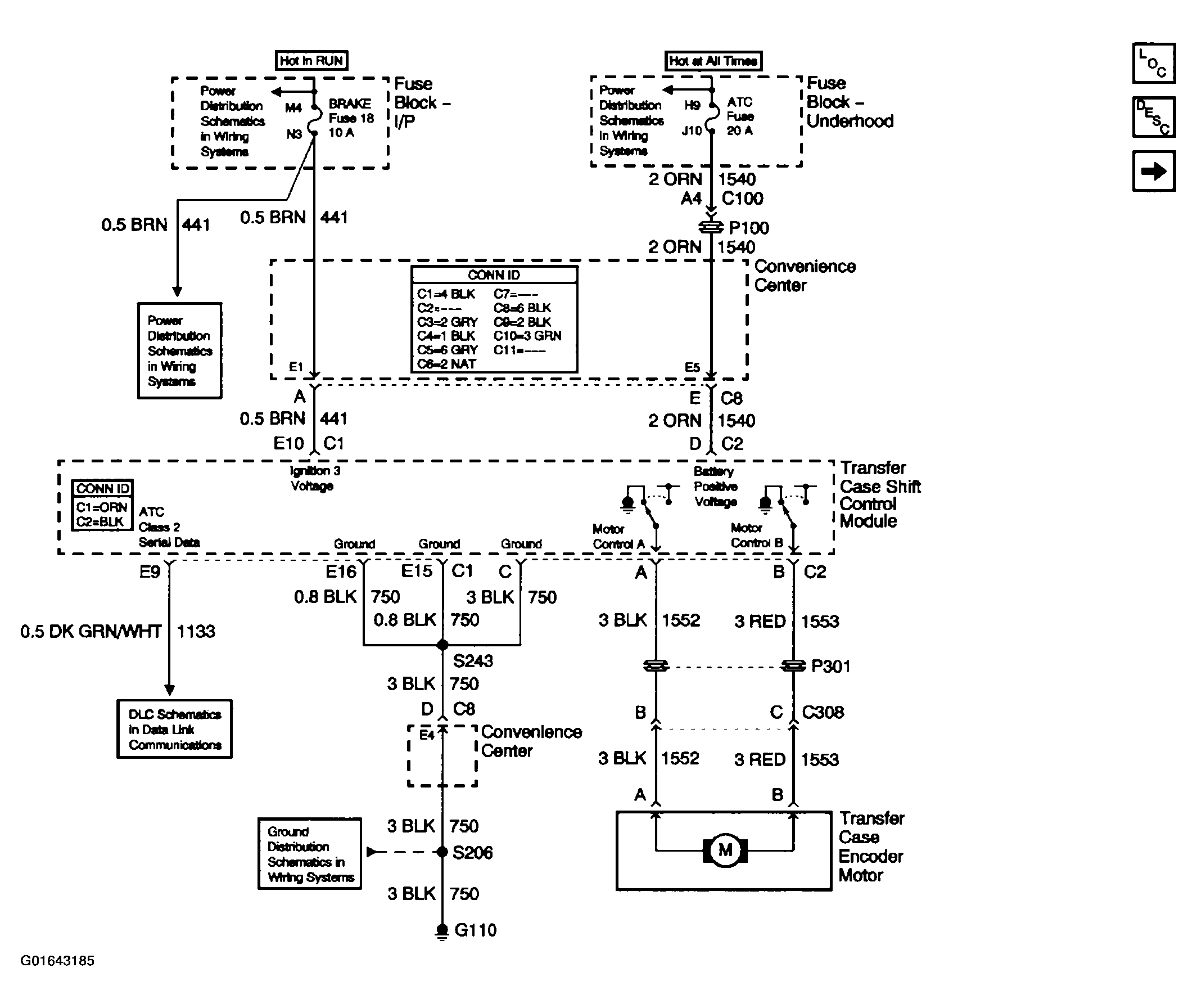
Transfer Case Control Schematics (Power, Ground, DLC, Transfer Case Encoder Motor)

Fig 1: Transfer Case Control Schematics (Power, Ground, DLC, Transfer Case Encoder Motor)
G01643185Courtesy of GENERAL MOTORS CORP.
Fig 2: Transfer Case Control Schematics (Propshaft Speed Sensors)
G01643186Courtesy of GENERAL MOTORS CORP.