LEMON Manuals: Even more car manuals for everyone: 1960-2025
Home >> Chevrolet >> 2003 >> SSR V8-5.3L VIN P >> Repair and Diagnosis >> Specifications >> Mechanical Specifications >> Engine >> System Specifications >> Service Limits & General Specifications >> Thread Repair Specifications
April 5, 2026: LEMON Manuals is launched! Read the announcement.

Thread Repair Specifications



Thread Repair Specifications

Engine Block:




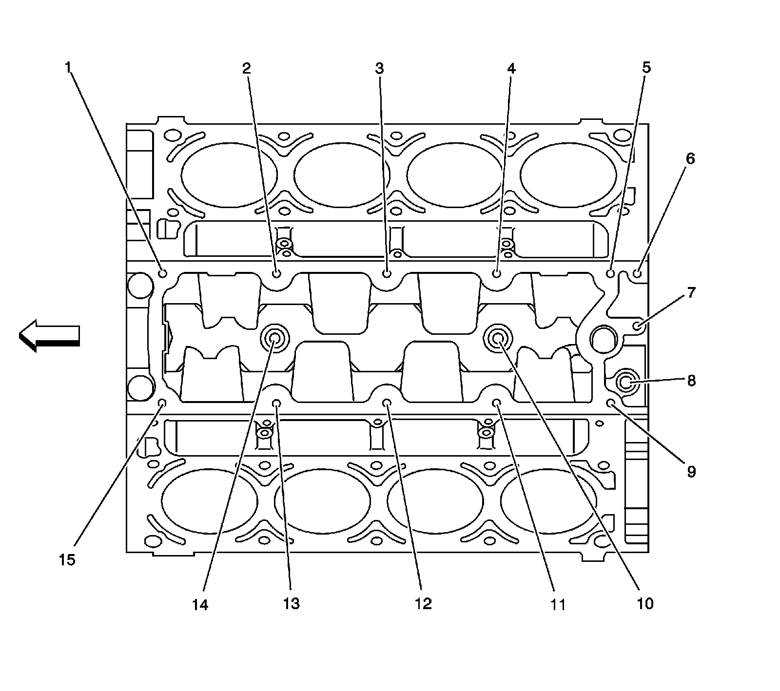
Engine Block - Front View:




Engine Block:




Engine Block - Rear View:




Engine Block:




Engine Block - Left Side View:




Engine Block:




Engine Block - Right Side View:




Engine Block:




Engine Block - Bottom View:




Engine Block - Bottom View:




Engine Block:




Engine Block - Top View:




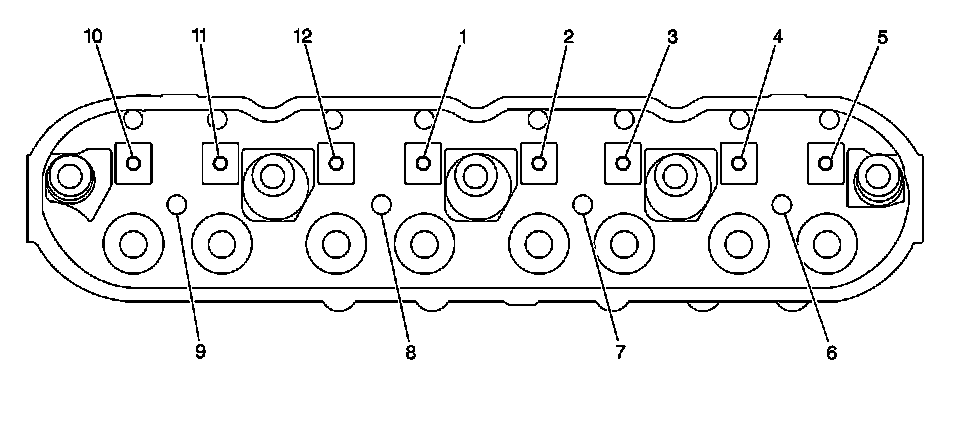
Cylinder Head:




Cylinder Head - Top View:







Cylinder Head - End View:




Cylinder Head:




Cylinder Head - Exhaust Manifold Deck View:




Cylinder Head:




Cylinder Head - Intake Manifold Deck View: