LEMON Manuals: Even more car manuals for everyone: 1960-2025
Home >> Chevrolet >> 2004 >> Epica LS >> Repair and Diagnosis >> Engine Performance >> System >> Engine Control System - 2.5L (LBK) - Repair Instructions >> Repair Instructions >> Fuel Sender Assembly Replacement >> Installation Procedure
April 5, 2026: LEMON Manuals is launched! Read the announcement.

Installation Procedure

    Fig 1: View Of Sender Assembly And Wires
    GM1539072Courtesy of GENERAL MOTORS CORP.
  1. Wind the wires (1) to the sender assembly (2).
  2. Fig 2: View Of Sender And Fuel Pump Assemblies
    GM1539073Courtesy of GENERAL MOTORS CORP.
    IMPORTANT: Failure to install the sender assembly correctly will result in inaccurate fuel gage reading.
  3. Install the sender assembly onto the fuel pump assembly (1).
  4. IMPORTANT: Failure to install the fuel level sensor correctly will result in inaccurate fuel level warning lamp operation.
  5. Install the fuel level sensor onto the sender housing.
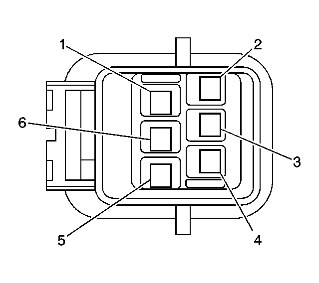
  6. Fig 3: Identifying Wire Connection Locations
    GM1539074Courtesy of GENERAL MOTORS CORP.
  7. Connect the wires into the insulator connector as follows:
    • Connect wire (1), Red
    • Connect wire (2), Blue
    • Connect wire (3), Gray
    • Connect wire (4), Yellow
    • Connect wire (5), Blue
    • Connect wire (6), Black
  8. Fig 4: Identifying Insulator Connector
    GM1539061Courtesy of GENERAL MOTORS CORP.
  9. Connect the insulator connector.
  10. Install the fuel pump. Refer to Fuel Pump Replacement .
  11. Install the fuel pump access cover.
  12. Install the rear seat. Refer to Seat Back Replacement - Rear Split Folding in Seats.
  13. CAUTION: Refer to Battery Disconnect Caution in Cautions and Notices.
  14. Connect the negative battery cable.