LEMON Manuals: Even more car manuals for everyone: 1960-2025
Home >> Chevrolet >> 2004 >> Express 2500 AWD V8-5.3L VIN T >> Repair and Diagnosis >> Specifications >> Mechanical Specifications >> Engine >> System Specifications >> Thread Repair Specifications
April 5, 2026: LEMON Manuals is launched! Read the announcement.

Thread Repair Specifications

Thread Repair Specifications











Engine Block - Front View








Engine Block - Rear View











Engine Block - Left Side View








Engine Block - Right Side View










Engine Block - Bottom View








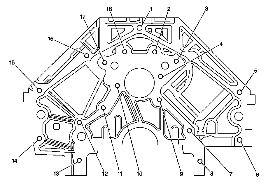
Engine Block - Top View








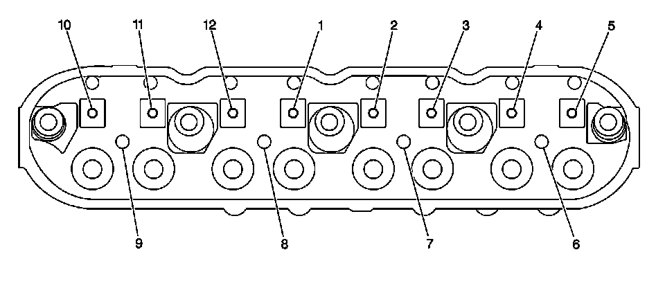
Cylinder Head - Top View








Cylinder Head - End View








Cylinder Head - Exhaust Manifold Deck View








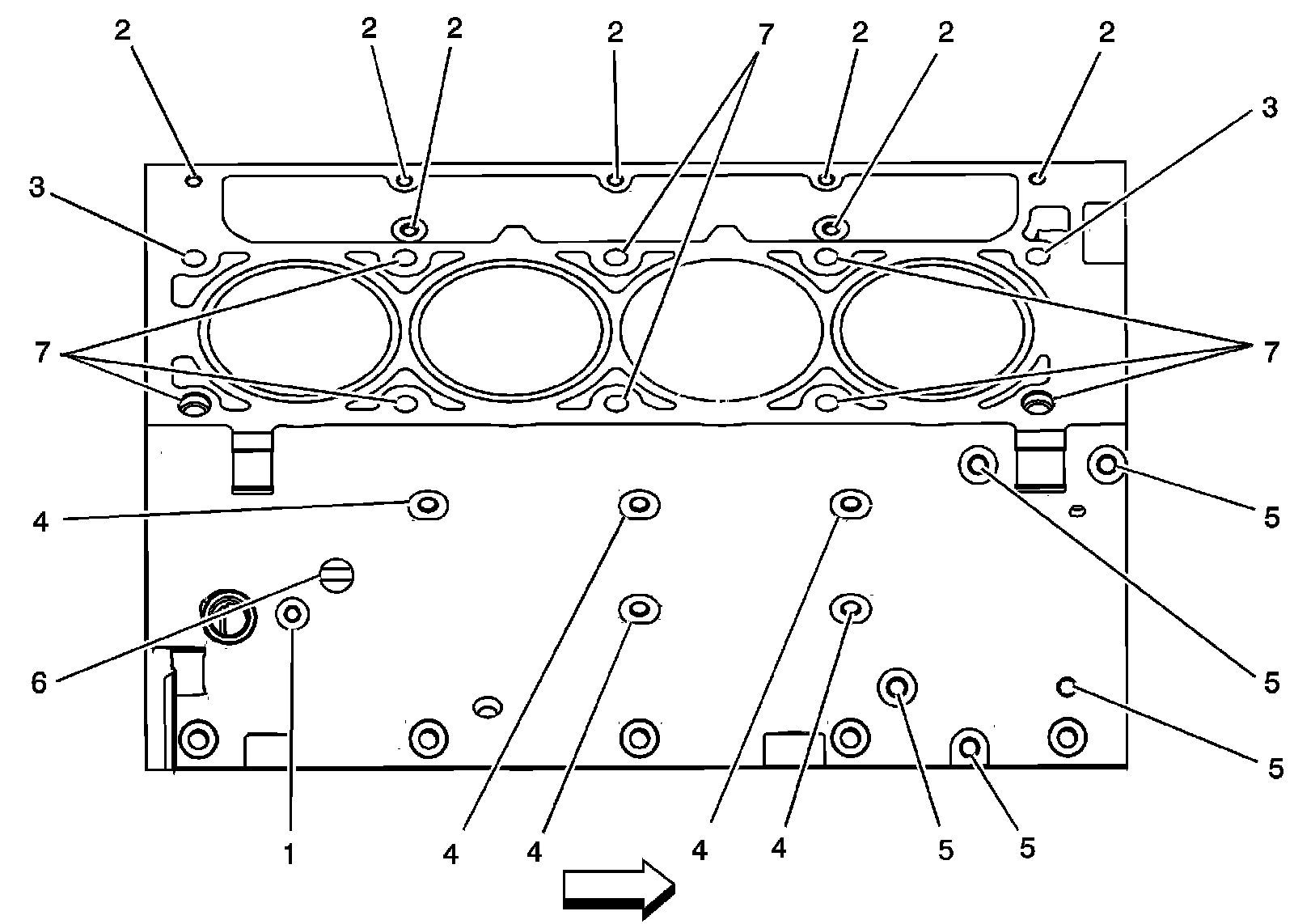
Cylinder Head - Intake Manifold Deck View