LEMON Manuals: Even more car manuals for everyone: 1960-2025
Home >> Chevrolet >> 2004 >> Impala Base, 3.4 E >> Repair and Diagnosis >> External Pages >> Different car >> Section 249 (Wiring Systems - Component Views) >> Master Electrical Component List >> Electrical Center Identification Views >> Fuse Block - I/P C1
April 5, 2026: LEMON Manuals is launched! Read the announcement.

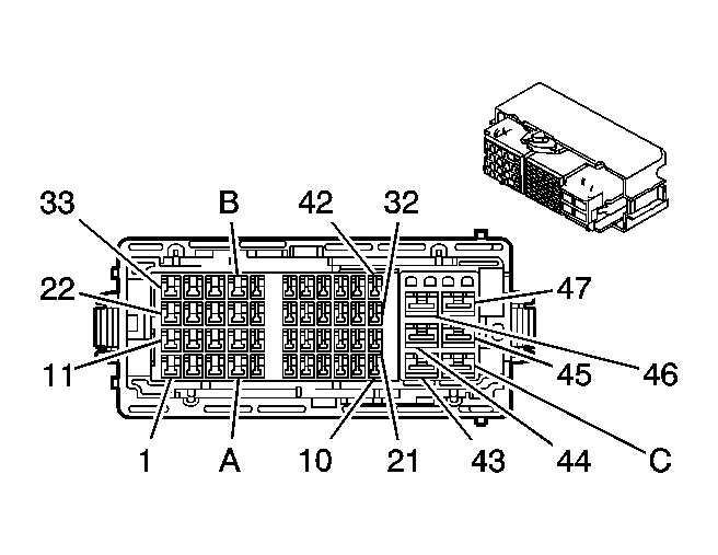
Fuse Block - I/P C1

WARNING: This page is about a different car, the 2006 Pontiac Montana SV6, 2006 Chevrolet Uplander, and 2006 Buick Terraza. However, it is still accessible from the selected car via links, so may be relevant.
Fig 1: Identifying Fuse Block - Underhood I/P C1
GM1553928Courtesy of GENERAL MOTORS CORP.
Electrical Center Identification Views

Connector Part Information 
  • OEM: 15492268
  • Service: See Catalog
  • Description: 50-Way F Receptacle 1.5, 2.8, 6.3 Series (BK)
Terminal Part Information 
  • Pins: 3, 11-13, 22, 25
  • Terminal/Tray: 15304711/Tray 8
  • Core/Insulation Crimp: 2/A
  • Release Tool/Test Probe: 15315247/J-35616-4A
  • Pins: 4-6, 8-9, 16-18, 21, 36, 38-39, 41-42
  • Terminal/Tray: 8100-4339/Tray 22
  • Core/Insulation Crimp: E/C
  • Release Tool/Test Probe: 15315247/J-38616-2A
  • Pins: 15, 30
  • Terminal/Tray: 12191812/19
  • Core/Insulation Crimp: C/A
  • Release Tool/Test Probe: 15315247/J-35616-2A (GY)
  • Pins: 43-45, 47
  • Terminal/Tray: 7116-4122-02/Tray 10
  • Core/Insulation Crimp: D/G
  • Release Tool/Test Probe: 12094430/J-35616-42
Fuse Block - I/P C1

Pin Wire Color Circuit No. Function
1-2 - - Not Used
3 RD/WH 240 Battery Positive Voltage
4 TN 707 RAP Relay Coil Control
5 RD/WH 640 Battery Positive Voltage
6 RD/WH 2340 Battery Positive Voltage (UE1)
7 - - Not Used
8 GY 8 Instrument Panel Lamp Supply Voltage
9 PK 739 Ignition 1 Voltage
10 - - Not Used
11 RD/WH 2040 Battery Positive Voltage
12 RD/WH 340 Battery Positive Voltage
13 BN 9 Park Lamp Supply Voltage
14 - - Not Used
15 BN 9 Park Lamp Supply Voltage
16 RD/WH 640 Battery Positive Voltage (U2K)
17 RD/WH 2340 Battery Positive Voltage
18 RD/WH 1040 Battery Positive Voltage
19-20 - - Not Used
21 PK 1539 Ignition 1 Voltage
22-24 - - Not Used
25 RD/WH 1240 Battery Positive Voltage
26-29 - - Not Used
30 RD/WH 1040 Battery Positive Voltage
31-37 - - Not Used
38 L-GN 526 Stop Lamp Supply Voltage
39 L-GN 526 Stop Lamp Supply Voltage
40 - - Not Used
41 GY 1458 Instrument Panel Lamp Supply Voltage
42 WH 1080 Park Lamp Relay Control
43 RD/BK 642 Battery Positive Voltage
44 RD/BK 242 Battery Positive Voltage
45 RD/BK 842 Battery Positive Voltage
46 - - Not Used
47 RD/BK 742 Battery Positive Voltage
A-C - - Not Used