LEMON Manuals: Even more car manuals for everyone: 1960-2025
Home >> Chevrolet >> 2004 >> Impala SS >> Repair and Diagnosis >> Engine Performance >> System >> Engine Control System 3.8L (Introduction) >> Repair Instructions >> Fuel Injector Replacement >> Installation Procedure
April 5, 2026: LEMON Manuals is launched! Read the announcement.

Installation Procedure

IMPORTANT: When ordering new fuel injectors, order the correct injector for the application being serviced.

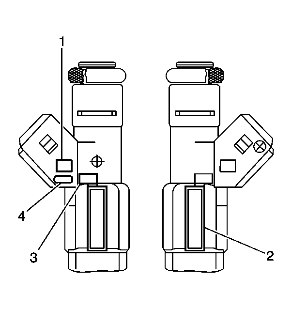
The fuel injector assembly (1) is stamped with a part number identification (2), a manufacturing date (3), a week code (1), and a production plant number (4).

Fig 1: Fuel Injector Identification
GM69058Courtesy of GENERAL MOTORS CORP.
  1. Coat all new O-rings with clean engine oil before installing
  2. Install the fuel injector lower O-ring (4).
  3. Install the fuel injector upper O-ring (2).
  4. Install the fuel injector (3) to the fuel rail.
  5. Install the fuel injector retaining clip (1).
  6. Install the fuel rail. Refer to Fuel Rail Assembly Replacement (L36)  or Fuel Rail Assembly Replacement (L67) .
  7. Fig 2: Fuel Injector Components
    GM751184Courtesy of GENERAL MOTORS CORP.