LEMON Manuals: Even more car manuals for everyone: 1960-2025
Home >> Chevrolet >> 2004 >> Impala SS >> Repair and Diagnosis >> Engine Performance >> System >> Engine Control System 3.8L (Introduction) >> Repair Instructions >> Ignition Control Module Replacement >> Removal Procedure
April 5, 2026: LEMON Manuals is launched! Read the announcement.

Removal Procedure

  1. Disconnect the negative battery cable. Refer to Battery Negative Cable Disconnect/Connect Procedure in Engine Electrical.
  2. Remove the 14-way electrical connector from the ignition control module (ICM).
  3. Disconnect the spark plug wires from the coil assemblies. Before removing the wires, note the position of the wires.
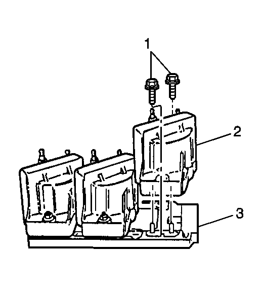
  4. Remove the ignition coil screws (1).
  5. Remove the ignition coils (2) from the ICM (3).
  6. Remove the ignition control module (3) from the bracket.
  7. Fig 1: View Of Ignition Coil Module And Module Mounting Bracket
    GM12299Courtesy of GENERAL MOTORS CORP.