LEMON Manuals: Even more car manuals for everyone: 1960-2025
Home >> Chevrolet >> 2004 >> Malibu Base >> Repair and Diagnosis (Single Page) >> Quick Lookups >> Wiring Diagrams >> Wiring Systems - Specifications, Component Views And Connector End Views >> Component Locator >> Electrical Center Identification Views >> Body Control Module (BCM) - Top View
April 5, 2026: LEMON Manuals is launched! Read the announcement.

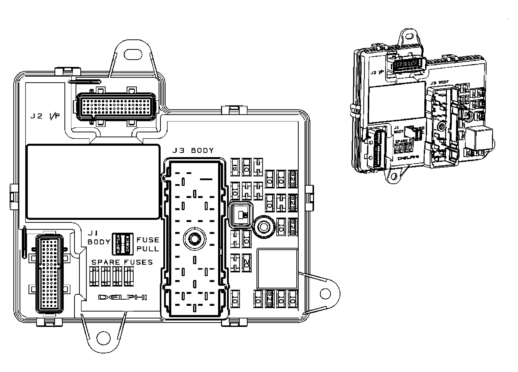
Body Control Module (BCM) - Top View

Fig 1: Body Control Module (BCM) - Top View
GM1385261Courtesy of GENERAL MOTORS CORP.