LEMON Manuals: Even more car manuals for everyone: 1960-2025
Home >> Chevrolet >> 2004 >> Optra (CANADA) L4-2.0L >> Repair and Diagnosis >> Powertrain Management >> Locations
April 5, 2026: LEMON Manuals is launched! Read the announcement.

Powertrain Management: Locations




Engine Controls Component Views

Manifold Absoulte Pressure (MAP), Oil Pressure, Throttle Position (TP) Sensors




1 - Manifold Absoulte Pressure (MAP) Sensor
2 - Engine Oil Pressure Switch
3 - Throttle Position (TP) Sensor
4 - Idle Air Control (IAC)

Fuel Injectors, Heated Oxygen Sensor (HO2S) 1, Heated Oxygen Sensor (HO2S) 2, Idle Air Control (IAC) Valve, Intake Air Temperature (IAT) Sensor




1 - Fuel Injector 1
2 - Fuel Injector 2
3 - Fuel Injector 3
4 - Fuel Injector 4
5 - Heated Oxygen Sensor (HO2S) 1
6 - Heated Oxygen Sensor (HO2S) 2
7 - Idle Air Control (IAC) Valve
8 - Intake Air Temperature (IAT) Sensor

Crankshaft Position (CKP) Sensors, EVAP, Ignition Coils




1 - Evporative Emissions (EVAP) Canister Purge Solenoid Valve
2 - Crankshaft Position (CKP) Sensor
3 - Ignition Coil Modules

Engine Control Module (ECM), Engine Coolant Temperature (ECT), Camshaft Position (CMP) and Rough Road Sensors




1 - Engine Control Module (ECM)
2 - Engine Coolant Temperature (ECT) Sensor
3 - Camshaft Position (CMP) Sensor
4 - Rough Road Sensor

Exhaust Gas Recirculation (EGR) Valve, Knock Sensor (KS)




1 - Exhaust Gas Recirculation (EGR) Valve
2 - Knock Sensor (KS)

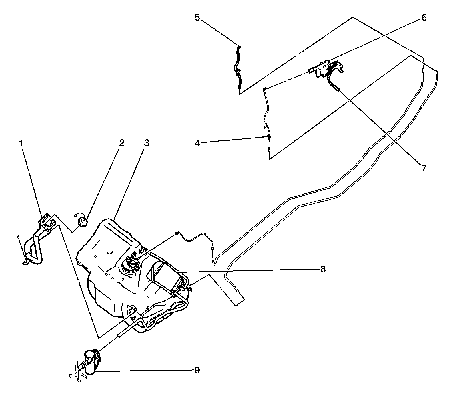
Fuel Vapor Recovery System




1 - Fuel Tube
2 - Fuel Filler Cap
3 - Fuel Tank
4 - Service Port
5 - Fuel Pipe to Fuel Rail
6 - Evaporative Emissions (EVAP) Canister Purge Solenoid Valve
7 - Vacuum hose to Intake Manifold
8 - Evaporative Emissions (EVAP) Canister
9 - Evaporative Emissions Canister Vent Solenoid Valve