LEMON Manuals: Even more car manuals for everyone: 1960-2025
Home >> Chevrolet >> 2004 >> Tracker 4WD >> Repair and Diagnosis >> Engine Performance >> System >> Engine Control System - 2.0L (Introduction) >> Repair Instructions >> Accelerator Controls Cable Replacement >> Installation Procedure
April 5, 2026: LEMON Manuals is launched! Read the announcement.

Installation Procedure

  1. Install the accelerator control cable (1) to the cable bracket.
  2. Connect the accelerator control cable (1) to the throttle lever (3).
  3. Secure the accelerator control cable with the cable locknut and the cable adjusting nut. Do not tighten fully.
  4. Fig 1: View Accelerator Control Cable & Throttle Lever
    GM55563Courtesy of GENERAL MOTORS CORP.
  5. Push the accelerator control cable through the bulkhead grommet.
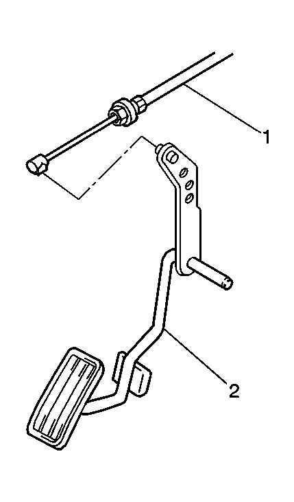
  6. Connect the accelerator control cable (1) to the accelerator pedal (2).
  7. Adjust the accelerator control cable end play and the accelerator pedal free play. Refer to Accelerator Cable Adjustment .
  8. Fig 2: View Of Accelerator Pedal & Control Cable
    GM158305Courtesy of GENERAL MOTORS CORP.