LEMON Manuals: Even more car manuals for everyone: 1960-2025
Home >> Chevrolet >> 2004 >> Tracker 4WD >> Repair and Diagnosis >> Engine Performance >> System >> Engine Control System - 2.5L (LE8) (Introduction) >> Repair Instructions >> Accelerator Controls Pedal Replacement >> Installation Procedure
April 5, 2026: LEMON Manuals is launched! Read the announcement.

Installation Procedure

    IMPORTANT: Be sure to install the spring while sliding the accelerator pedal into the mounting bracket.
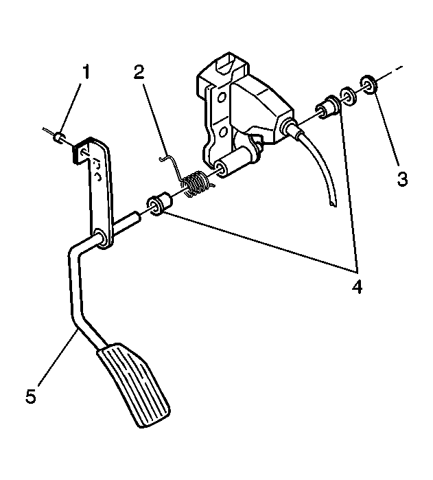
  1. Install the accelerator pedal (5), spring (2) and bushings (4) to the mounting bracket.
  2. Secure the accelerator pedal with a new accelerator pedal push nut (3).
  3. Connect the accelerator control cable (1) to the accelerator pedal (5).
  4. Inspect the accelerator pedal free play and the accelerator control cable end play. Adjust as necessary. Refer to Accelerator Cable Adjustment .
  5. Fig 1: View Of Accelerator Pedal, Control Cable, Spring, Bushing & Push Nut
    GM736613Courtesy of GENERAL MOTORS CORP.