LEMON Manuals: Even more car manuals for everyone: 1960-2025
Home >> Chevrolet >> 2005 >> Classic L4-2.2L VIN F >> Repair and Diagnosis >> Diagrams >> Exploded Views >> Engine >> Engine Block and Components
April 5, 2026: LEMON Manuals is launched! Read the announcement.

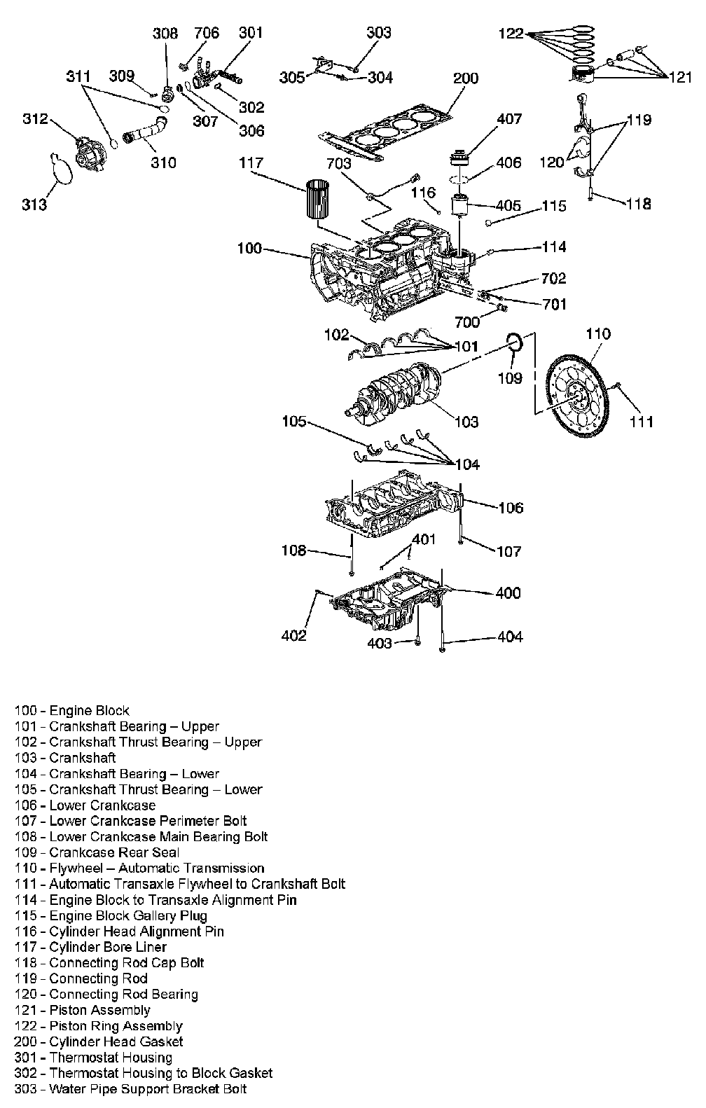
Engine Block and Components