LEMON Manuals: Even more car manuals for everyone: 1960-2025
Home >> Chevrolet >> 2005 >> Uplander LS >> Repair and Diagnosis (Single Page) >> Suspension >> Suspension Control Systems >> Suspension Control System - Suspension Leveling >> Repair Instructions >> Automatic Level Control Sensor Replacement >> Installation Procedure
April 5, 2026: LEMON Manuals is launched! Read the announcement.

Installation Procedure

    Fig 1: Identifying Automatic Level Control Height Sensor Bracket Bolts
    GM881333Courtesy of GENERAL MOTORS CORP.
  1. Install the automatic level control sensor to the vehicle.
  2. NOTE: Refer to Fastener Notice in Cautions and Notices.
  3. Install the height sensor bracket bolts (1).

    Tighten:  Tighten the height sensor bracket bolts to 85 N.m (63 lb ft).

  4. Install the automatic level control sensor link onto the sensor arm ball stud.
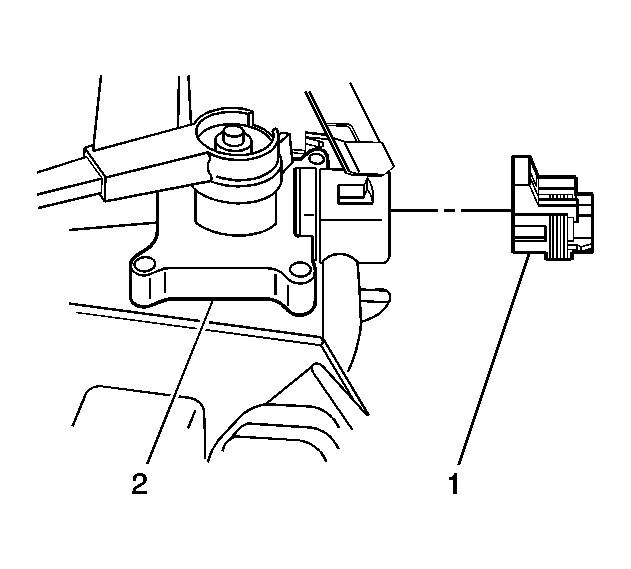
  5. Fig 2: View Of Automatic Level Control Sensor Electrical Connector
    GM881329Courtesy of GENERAL MOTORS CORP.
  6. Install the automatic level control height sensor electrical connector (1).
  7. Lower the vehicle.
  8. Install the ELC/TRAILER fuse.
  9. Perform a diagnostic system check. Refer to Diagnostic System Check - Vehicle in Vehicle DTC Information.