EGR Valve CircuitsEGR Diagnostics
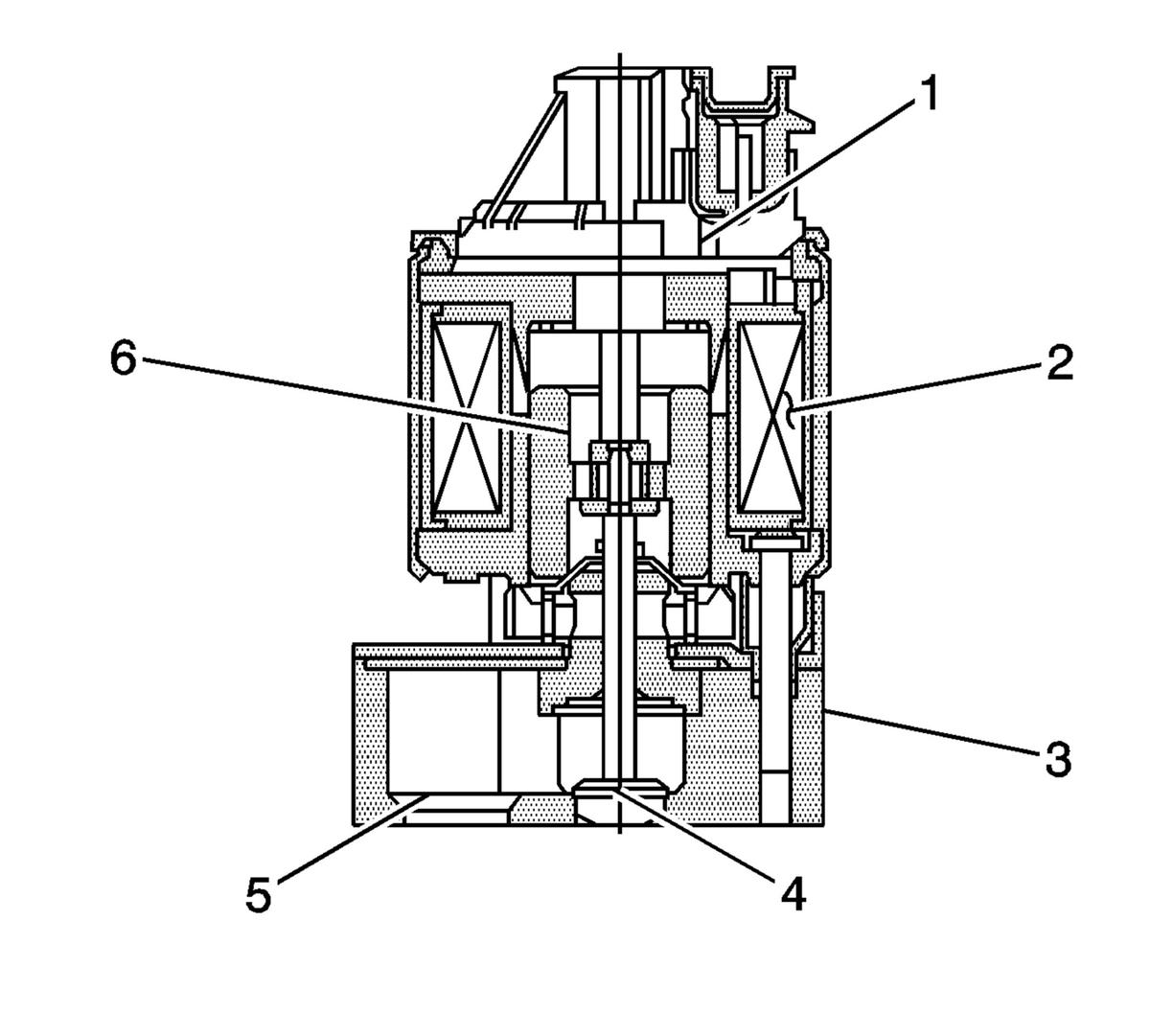
| Callout | Component Name |
|---|---|
| 1 | Position Sensor |
| 2 | Coil Assembly |
| 3 | Base |
| 4 | Pintle |
| 5 | Exhaust In Port |
| 6 | Armature |
The exhaust gas recirculation (EGR) valve consists of the following circuits:
- An ignition 1 voltage circuit which supplies 12 volts to the coil of the EGR valve
- Two control circuits which grounds the coil of the EGR valve-The control circuit is a pulse width modulated (PWM) ground produced by an internal low side driver of the engine control module (ECM).
- A 5-volt reference circuit supplied from the ECM to the internal position sensor of the EGR valve
- A signal circuit which sends a feedback voltage from the internal position sensor of the EGR valve to the ECM-This voltage varies depending on the position of the EGR valve pintle. The ECM interprets this voltage as the position of the EGR valve pintle.
- A low reference circuit supplied from the ECM to the internal position sensor of the EGR valve