LEMON Manuals: Even more car manuals for everyone: 1960-2025
Home >> Chevrolet >> 2007 >> Corvette V8-6.0L >> Repair and Diagnosis >> Diagrams >> Connector Views >> Suspension Control Module
April 5, 2026: LEMON Manuals is launched! Read the announcement.

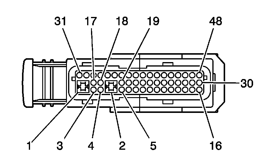
Suspension Control Module



Electronic Suspension Control Connector End Views







Electronic Suspension Control (ESC) Module: