LEMON Manuals: Even more car manuals for everyone: 1960-2025
Home >> Chevrolet >> 2007 >> Express 3500 V8-4.8L >> Repair and Diagnosis >> Diagrams >> Connector Views >> Antilock Brakes / Traction Control Systems >> Electronic Brake Control Module
April 5, 2026: LEMON Manuals is launched! Read the announcement.

Electronic Brake Control Module



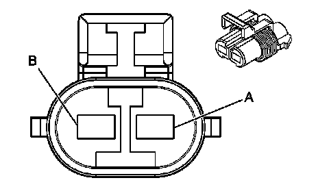
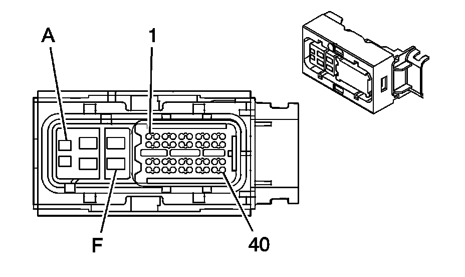
Antilock Brake System Connector End Views







Electronic Brake Control Module (EBCM) C1 - w/o JL4:










Electronic Brake Control Module (EBCM) C2 - w/o JL4:










Electronic Brake Control Module (EBCM) - JL4: