LEMON Manuals: Even more car manuals for everyone: 1960-2025
Home >> Chevrolet >> 2007 >> HHR L4-2.2L >> Repair and Diagnosis >> Powertrain Management >> Computers and Control Systems >> Engine Control Module >> Diagrams >> Connector Views
April 5, 2026: LEMON Manuals is launched! Read the announcement.

Connector Views



Engine Control Module Connector End Views

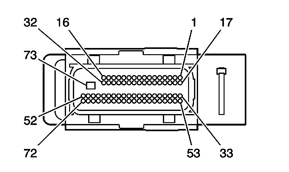
Engine Control Module (ECM) C1







Engine Control Module (ECM) C1 (Pin 1 To 20):




Engine Control Module (ECM) C1 (Pin 21 To 73):






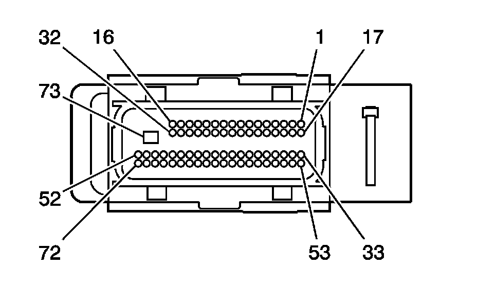
Engine Control Module (ECM) C2







Engine Control Module (ECM) C2 (Pin 1 To 15):




Engine Control Module (ECM) C2 (Pin 16 To 73):