LEMON Manuals: Even more car manuals for everyone: 1960-2025
Home >> Chevrolet >> 2007 >> HHR L4-2.4L >> Repair and Diagnosis >> Powertrain Management >> Computers and Control Systems >> Engine Control Module >> Diagrams >> Connector Views
April 5, 2026: LEMON Manuals is launched! Read the announcement.

Connector Views



Engine Control Module Connector End Views

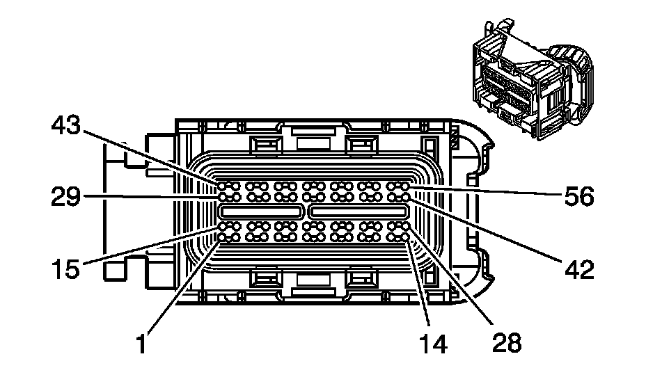
Engine Control Module (ECM) C1







Engine Control Module (ECM) C1 (Pin 1 To 37):




Engine Control Module (ECM) C1 (Pin 38 To 56):






Engine Control Module (ECM) C2







Engine Control Module (ECM) C2 (Pin 1 To 16):




Engine Control Module (ECM) C2 (Pin 17 To 72):




Engine Control Module (ECM) C2 (Pin 73):






Engine Control Module (ECM) 3







Engine Control Module (ECM) C3 (Pin 1 To 44):




Engine Control Module (ECM) C3 (Pin 45 To 73):