LEMON Manuals: Even more car manuals for everyone: 1960-2025
Home >> Chevrolet >> 2007 >> HHR LS, Automatic >> Repair and Diagnosis >> External Pages >> Different car >> Section 526 (Wiring Systems And Power Management - Component Connector End Views - MULTIFUNCTION Switch Through Trailer Connector) >> Component Connector End Views >> Speaker - Left Front Tweeter Connector End View
April 5, 2026: LEMON Manuals is launched! Read the announcement.

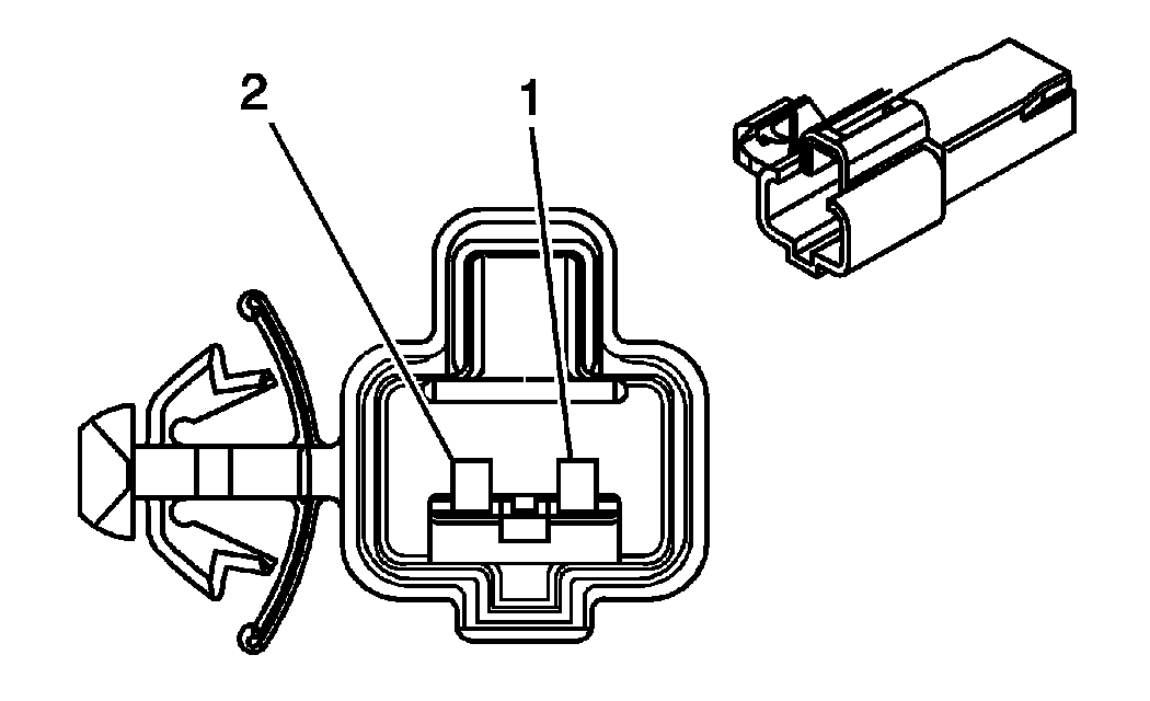
Speaker - Left Front Tweeter Connector End View

WARNING: This page is about a different car, the 2011 GMC Canyon and 2011 Chevrolet Colorado. However, it is still accessible from the selected car via links, so may be relevant.
Fig 1: Speaker - Left Front Tweeter Connector End View
GM1334462Courtesy of GENERAL MOTORS CORP.
Speaker - Left Front Tweeter)

Pin Wire Circuit Function
1 0.5 GY 118 Left Front Speaker Output (-)
2 0.5 TN 201 Left Front Speaker Output (+)
Connector Part Information 
  • Harness: Left Door (Reg Cab)
  • Harness: Left Front Door (Ext or Crew Cab)
  • OEM: 15383150
  • OEM: 15427362
  • Service: 88987841
  • Description: 2-Way M 090 II (WH)
Terminal Part Information 
  • Terminated Lead: Pending
  • Release Tool: J-38125-12A
  • Diagnostic Test Probe: J-35616-19 (BK)
  • Terminal/Tray: 15305100/19
  • Core/Insulation Crimp: A/E/A