LEMON Manuals: Even more car manuals for everyone: 1960-2025
Home >> Chevrolet >> 2007 >> Impala V8-5.3L >> Repair and Diagnosis >> Heating and Air Conditioning >> Control Module HVAC >> Locations
April 5, 2026: LEMON Manuals is launched! Read the announcement.

Control Module HVAC: Locations



HVAC Component Views

Interior HVAC Components




1 - HVAC Module
2 - Mode Actuator
3 - Air Temperature Actuator (C67), Air Temperature Actuator - Right (CJ3)
4 - Recirculation Actuator
5 - Blower Motor
6 - Blower Motor Control Processor
7 - Air Temperature Actuator - Left (CJ3)

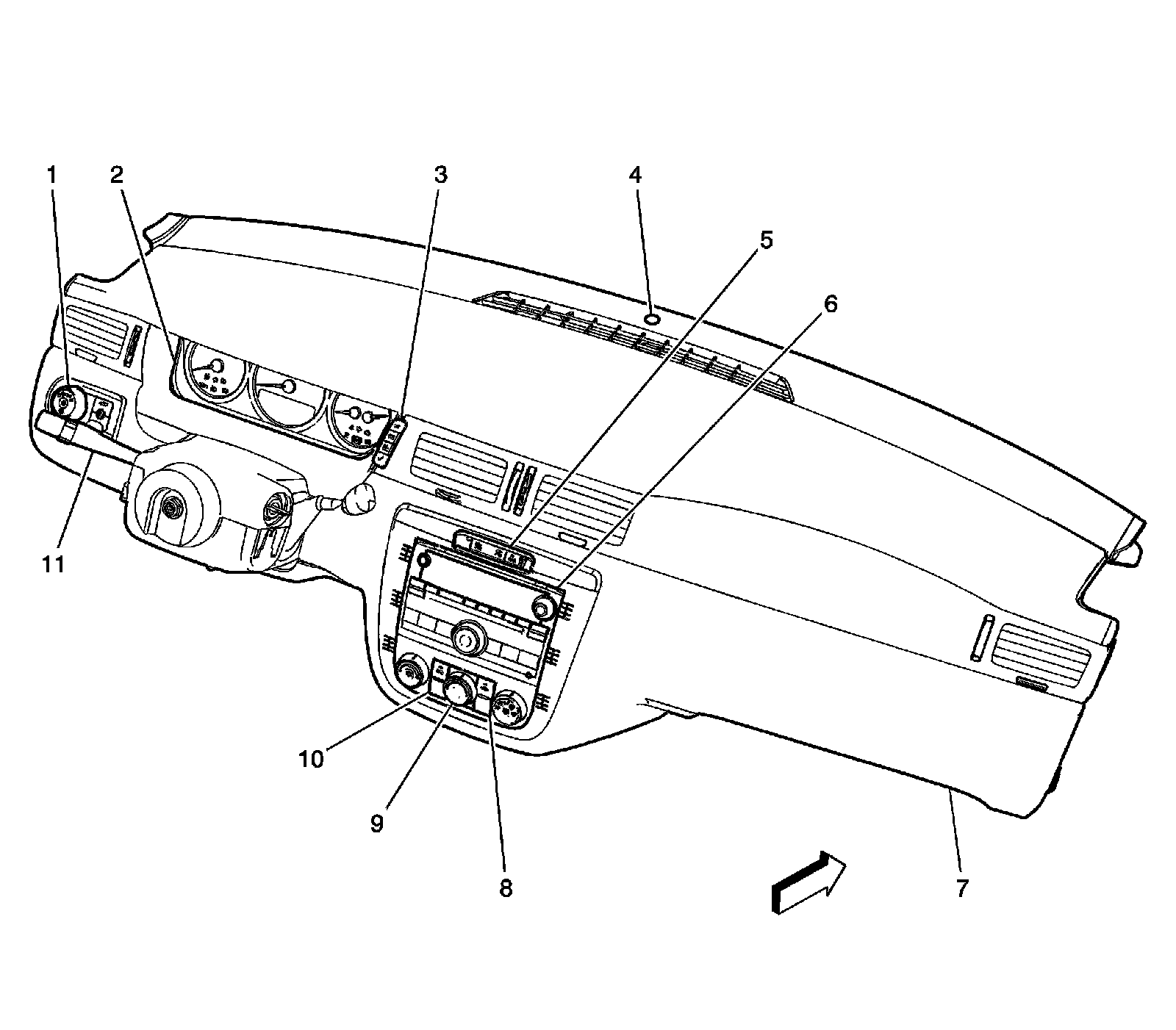
I/P Components




1 - Headlamp Switch
2 - Instrument Panel Cluster (IPC)
3 - Inflatable Restraint Steering Wheel Module Coil
4 - Driver Information Center (DIC) Switch
5 - Ambient Light Sensor
6 - Inflatable Restraint Passenger Air Bag On/Off Indicator (Sedan w/o 9C1, 9C3)
7 - Radio
8 - Inflatable Restraint I/P Module
9 - I/P Trim Panel
10 - Heated Seat Switch - Passenger (KA1)
11 - HVAC Control Module
12 - Heated Seat Switch - Driver (KA1)
13 - Turn Signal/Multifunction Switch