LEMON Manuals: Even more car manuals for everyone: 1960-2025
Home >> Chevrolet >> 2007 >> Impala V8-5.3L >> Repair and Diagnosis >> Powertrain Management >> Relays and Modules - Powertrain Management >> Relays and Modules - Computers and Control Systems >> Engine Control Module >> Diagrams >> Connector Views
April 5, 2026: LEMON Manuals is launched! Read the announcement.

Connector Views



Engine Control Module Connector End Views

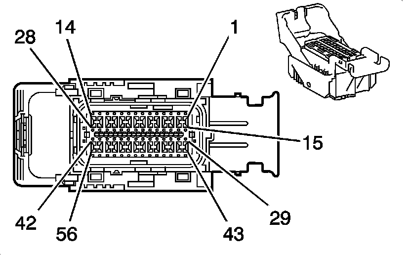
Engine Control Module (ECM) C1









Engine Control Module (ECM) C1 (Pin 1 To 31):





Engine Control Module (ECM) C1 (Pin 32 To 56):






Engine Control Module (ECM) C2













Engine Control Module (ECM) C2 (Pin 17 To 73):






Engine Control Module (ECM) C3









Engine Control Module (ECM) C3 (Pin 1 To 36):





Engine Control Module (ECM) C3 (Pin 37 To 73):