LEMON Manuals: Even more car manuals for everyone: 1960-2025
Home >> Chevrolet >> 2008 >> Corvette V8-7.0L >> Repair and Diagnosis >> Diagrams >> Exploded Views >> Engine
April 5, 2026: LEMON Manuals is launched! Read the announcement.

Engine



Disassembled Views (7.0L)

Intake Manifold/Upper Engine

Intake Manifold/Upper Engine:




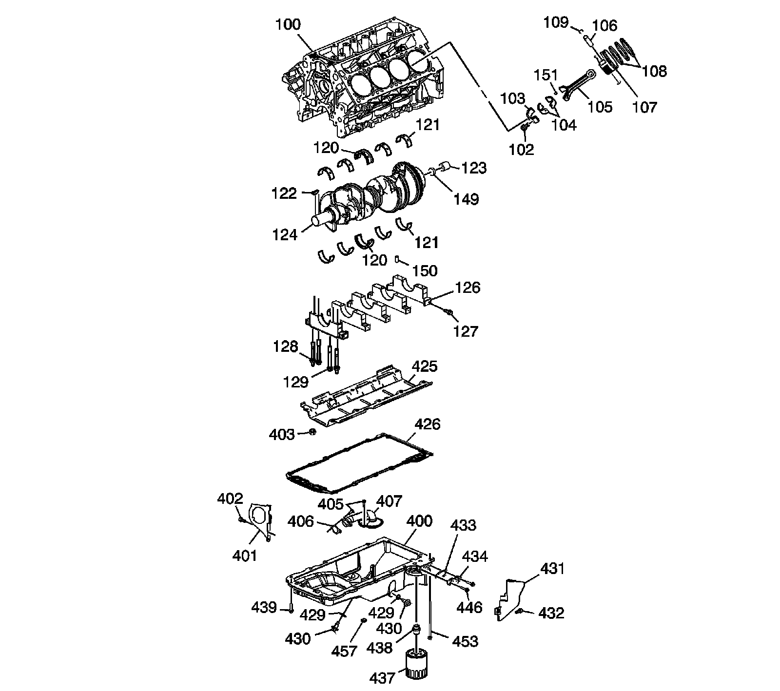
100 - Engine Block
307 - Engine Coolant Air Bleed Pipe
308 - Engine Coolant Air Bleed Pipe Seal
308 - Engine Coolant Air Bleed Pipe Seal
309 - Bolt
312 - Bolt
313 - Engine Coolant Air Bleed Pipe Hole Cover
500 - Intake Manifold
506 - Bolt
508 - Throttle Body
509 - Throttle Body Seal
510 - Fuel Rail Assembly - Multi-Port
511 - Bolt
512 - Bolt
513 - Intake Manifold Seal
514 - Intake Manifold Gasket
537 - Engine Block Valley Cover High Pressure Port Seal
538 - Bolt
555 - Engine Block Valley Cover
556 - Engine Block Valley Cover Gasket
557 - Fuel Injection Fuel Rail Bracket
700 - Positive Crankcase Ventilation (PCV) Tube - Fresh Air
706 - Engine Oil Pressure Sensor
707 - Engine Oil Pressure Sensor Seal
712 - Fuel Injection Fuel Rail Stop
712 - Fuel Injection Fuel Rail Stop
714 - Manifold Absolute Pressure (MAP) Sensor
715 - MAP Sensor Seal
716 - PCV Hose - Dirty Air
729 - Evaporative (EVAP) Emission Canister Purge Tube
730 - EVAP Canister Purge Solenoid Valve
731 - EVAP Service Valve Cap
734 - EVAP Service Valve
735 - EVAP Canister Purge Tube
740 - EVAP Canister Purge Tube Clip
741 - EVAP Canister Purge Solenoid Valve Bracket
742 - Bolt

Cylinder Head/Upper Engine

Cylinder Head/Upper Engine:




100 - Engine Block
209 - Valve Lifter
210 - Valve Lifter Guide
211 - Bolt
212 - Valve Pushrod
213 - Valve Rocker Arm
214 - Bolt
217 - Cylinder Head Gasket
218 - Cylinder Head
220 - Cylinder Head Bolt - M11
221 - Cylinder Head Bolt - M8
222 - Valve Stem Oil Seal
223 - Valve Spring
224 - Valve Spring Cap
225 - Valve Stem Key
227 - Intake Valve
228 - Exhaust Valve
229 - Cylinder Head Plug
230 - Cylinder Head Locating Pin
234 - Valve Rocker Arm Wear Pad - Intake Valve
424 - Oil Cap
450 - Oil Cap O-Ring Seal
504 - Valve Rocker Arm Cover Gasket
504 - Valve Rocker Arm Cover Gasket
505 - Valve Rocker Arm Cover
505 - Valve Rocker Arm Cover
515 - Bolt Grommet
516 - Bolt
559 - Engine Cover Stud
600 - Exhaust Manifold
601 - Exhaust Manifold Gasket
602 - Bolt
603 - Exhaust Manifold Heat Shield
604 - Bolt
605 - Stud
700 - Positive Crankcase Ventilation (PCV) Tube - Fresh Air
719 - Ignition Coil Bracket
720 - Stud
721 - Ignition Coil Wire Harness Assembly
722 - Ignition Coil
723 - Bolt
724 - Spark Plug Wire
725 - Coolant Temperature Sensor
726 - Spark Plug

Front of Engine

Front of Engine:




100 - Engine Block
138 - Crankshaft Balancer
139 - Bolt
140 - Crankshaft Front Oil Seal
143 - Balancer Weight - Crankshaft Balancer
200 - Camshaft
201 - Camshaft Bearings
202 - Camshaft Sprocket Locating Pin
203 - Camshaft Retainer
204 - Bolt
205 - Camshaft Sprocket
206 - Bolt
207 - Crankshaft Sprocket
208 - Timing Chain
231 - Bolt
232 - Timing Chain Dampener
233 - Crankshaft Balancer Washer
300 - Water Pump
301 - Bolt
302 - Bolt
303 - Water Inlet Housing
304 - Water Inlet Seal
305 - Engine Coolant Thermostat
306 - Water Pump Gasket
408 - Bolt
409 - Oil Pump Cover
410 - Oil Pump Gear - Drive
410 - Oil Pump Gear - Drive
411 - Bolt
412 - Oil Pump Gear - Driven
412 - Oil Pump Gear - Driven
413 - Oil Pump Housing - Primary
414 - Oil Pressure Relief Valve
415 - Oil Pressure Relief Valve Spring
416 - Oil Pressure Relief Valve Plug
456 - Oil Pump Housing - Secondary
501 - Bolt
502 - Engine Front Cover
503 - Engine Front Cover Gasket
703 - Camshaft Position (CMP) Sensor
704 - CMP Sensor Seal
705 - CMP Sensor Bolt
737 - CMP Sensor Wire Harness

Rear of Engine

Rear of Engine:




100 - Engine Block
123 - Transmission Pilot Bearing
132 - Washer
133 - Bolt
134 - Flywheel - Manual Transmission
135 - Clutch Drive Plate - Manual Transmission
136 - Clutch Pressure Plate - Manual Transmission
137 - Bolt
141 - Crankshaft Rear Oil Seal
142 - Clutch Pressure Plate Locating Pin - Manual Transmission
144 - Balance Weight - Flywheel
517 - Bolt
518 - Crankshaft Rear Oil Seal Housing
519 - Crankshaft Rear Oil Seal Housing Gasket

Lower Engine Assembly

Lower Engine Assembly:




100 - Engine Block
102 - Bolt
103 - Connecting Rod Cap
104 - Connecting Rod Bearing
105 - Connecting Rod
106 - Piston Pin
107 - Piston
108 - Piston Ring Set
109 - Piston Pin Retainer
120 - Crankshaft Bearing - Thrust
120 - Crankshaft Bearing - Thrust
121 - Crankshaft Bearing
121 - Crankshaft Bearing
122 - Crankshaft Sprocket Key
123 - Transmission Pilot Bearing
124 - Crankshaft
126 - Crankshaft Bearing Cap
127 - Bolt - M8
128 - Stud - M10
129 - Bolt - M10
149 - Crankshaft Hole Plug
150 - Crankshaft Bearing Cap Locating Pin
151 - Connecting Rod Cap Locating Pin
400 - Oil Pan
401 - Engine Cover - Right
402 - Bolt
403 - Crankshaft Oil Deflector Nut
405 - Bolt
406 - Oil Pump Suction Pipe Gasket
407 - Oil Pump Screen
425 - Crankshaft Oil Deflector
426 - Oil Pan Gasket
429 - Oil Pan Drain Plug Seal - O-Ring
429 - Oil Pan Drain Plug Seal - O-Ring
430 - Oil Pan Drain Plug
430 - Oil Pan Drain Plug
431 - Oil Pan Cover - Left
432 - Bolt
437 - Oil Filter
438 - Oil Filter Fitting
439 - Bolt - M8
453 - Bolt - M6
457 - Oil Pan Hole Plug

Engine Block Plugs/Sensors

Engine Block Plugs/Sensors:




100 - Engine Block
100 - Engine Block
101 - Engine Block Oil Gallery Plug - Front
110 - Engine Block Oil Gallery Plug Seal
111 - Engine Block Oil Gallery Plug - Rear
112 - Engine Block Oil Gallery Plug - Side
113 - Engine Block Oil Gallery Plug Seal
114 - Engine Block Coolant Heater
115 - Engine Block Coolant Heater Seal
116 - Engine Block Oil Gallery Plug - Side
117 - Engine Block Oil Gallery Plug Seal
130 - Transmission Locating Pin
145 - Engine Block Coolant Drain Hole Plug Seal
146 - Engine Block Coolant Drain Hole Plug - Side
701 - Crankshaft Position (CKP) Sensor
702 - CKP Sensor Seal
718 - Knock Sensor
718 - Knock Sensor
739 - Bolt
739 - Bolt
750 - CKP Sensor Bolt

Oil Pump Assembly

Oil Pump Assembly:




408 - Bolt
409 - Oil Pump Cover
410 - Oil Pump Gear - Drive
410 - Oil Pump Gear - Drive
412 - Oil Pump Gear - Driven
412 - Oil Pump Gear - Driven
413 - Oil Pump Housing - Primary
414 - Oil Pressure Relief Valve
415 - Oil Pressure Relief Valve Spring
416 - Oil Pressure Relief Valve Plug
456 - Oil Pump Housing - Secondary

Engine Oil Tank Assembly

Engine Oil Tank Assembly:




1 - Oil Level Indicator
2 - Oil Fill Cap
3 - O-ring
4 - Tube
5 - Engine Oil Tank - Bottom
6 - Engine Oil Temperature Sensor
7 - Bracket
8 - Bolt
9 - Bolt
10 - Bracket
11 - Screen
12 - O-ring
13 - Bolt
14 - Baffle
15 - Engine Oil Tank - Top
16 - Bolt/Stud
17 - Bolt