LEMON Manuals: Even more car manuals for everyone: 1960-2025
Home >> Chevrolet >> 2008 >> HHR LS, Standard >> Repair and Diagnosis (Single Page) >> Quick Lookups >> Electrical Component Locations >> Wiring Systems And Power Management - Component Views & Component Connector End Views >> Component Connector End Views >> A/C Refrigerant Pressure Sensor
April 5, 2026: LEMON Manuals is launched! Read the announcement.

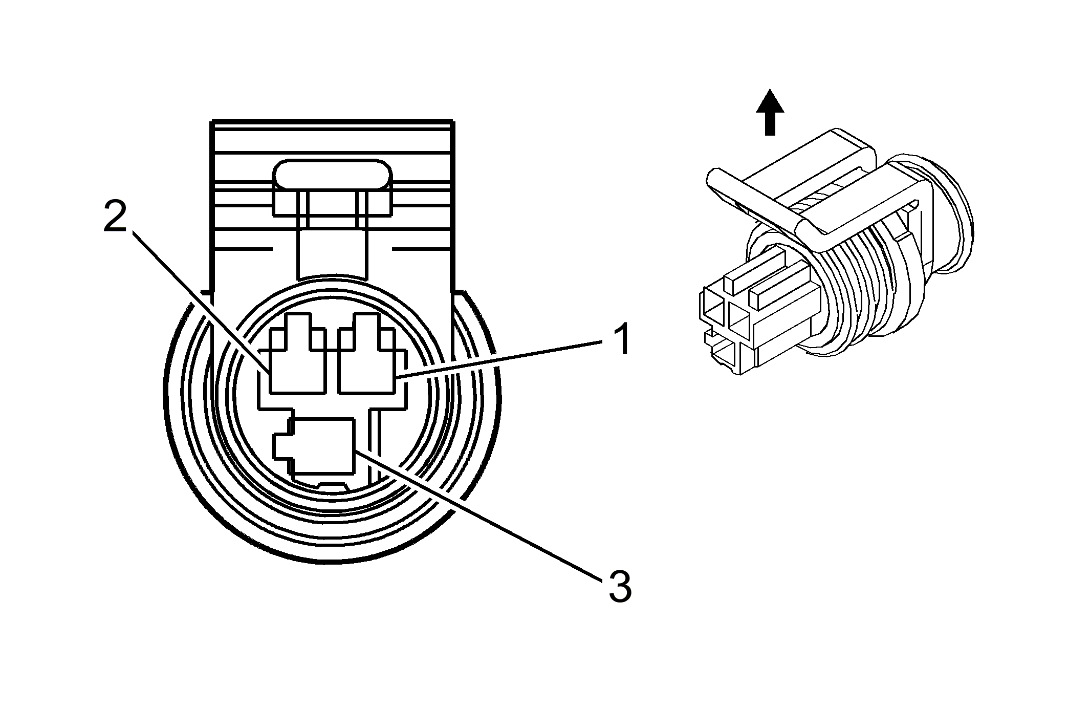
A/C Refrigerant Pressure Sensor

Fig 1: A/C Refrigerant Pressure Sensor Connector End View
GM1581660Courtesy of GENERAL MOTORS CORP.
A/C Refrigerant Pressure Sensor

Pin Wire Circuit Function
1 0.5 TN 5514 Low Reference (LNF)
0.5 PU/WH 6256 Low Reference (L61/LE5)
2 0.5 GY 2700 5-Volt Reference (LNF)
6255 5-Volt Reference (L61/LE5)
3 0.35 OG/BK 380 A/C Refrigerant Pressure Sensor Signal
Connector Part Information 
  • OEM: 15397149
  • Service: 88988301
  • Description: 3-Way F GT 150 Series Sealed (BK)
Terminal Part Information 
  • Terminal/Tray: 15326267/19
  • Core/Insulation Crimp: E/4
  • Release Tool/Test Probe: 15315247/J-35616-2A (GY)