LEMON Manuals: Even more car manuals for everyone: 1960-2025
Home >> Chevrolet >> 2008 >> Impala SS >> Repair and Diagnosis (Single Page) >> Electrical >> Wiring Diagrams >> Wiring Systems And Power Management - Component Views & Component Connector End Views >> Component Connector End Views >> Electronic Brake Control Module (EBCM)
April 5, 2026: LEMON Manuals is launched! Read the announcement.

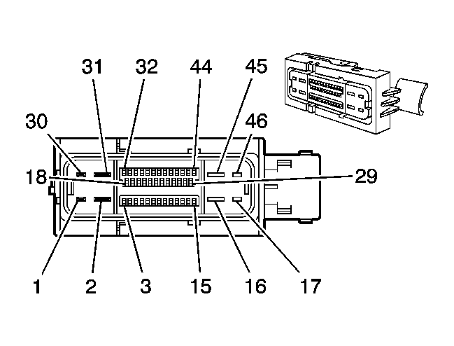
Electronic Brake Control Module (EBCM)

Fig 1: Electronic Brake Control Module (EBCM) Connector End View
GM1673469Courtesy of GENERAL MOTORS CORP.
Electronic Brake Control Module (EBCM)

Pin Wire Circuit Function
1 - - Not Used
2 5 RD/BK 1342 Battery Positive Voltage
3 0.35 TN/BK 2500 High Speed GMLAN Serial Data Bus +
4 0.35 TN/BK 2500 High Speed GMLAN Serial Data Bus +
5-11 - - Not Used
12 0.5 L-BU 830 Left Front Wheel Speed Sensor Signal
13 0.5 YE 873 Left Front Wheel Speed Sensor Low Reference
14-15 - - Not Used
16 3 BK/WH 251 Ground
17 - - Not Used
18 0.35 TN 2501 High Speed GMLAN Serial Data Bus -
19 0.35 TN 2501 High Speed GMLAN Serial Data Bus -
20 - - Not Used
21 0.5 BN 818 Vehicle Speed Signal (9C1, 9C3, LS4)
22-25 - - Not Used
26 0.5 D-GN 872 Right Front Wheel Speed Sensor Signal
27 0.5 TN 833 Right Front Wheel Speed Sensor Low Reference
28-30 - - Not Used
31 5 RD/BK 1442 Battery Positive Voltage
32 0.35 L-BU 5986 Serial Data Communication Enable
33-40 - - Not Used
41 0.5 OG 885 Left Rear Wheel Speed Sensor Low Reference
42 0.5 TN 884 Left Rear Wheel Speed Sensor Signal
43 0.5 BN 882 Right Rear Wheel Speed Sensor Signal
44 0.5 WH 883 Right Rear Wheel Speed Sensor Low Reference
45 3 BK/WH 251 Ground
46 - - Not Used
Connector Part Information 
  • OEM: 15492334
  • Service: 88988755
  • Description: 46-Way F Receptacle 0.64 6.3 Sealed (BK)
Terminal Part Information 
  • Pins: 2, 31
  • Terminal/Tray: 7116-4142-02/10
  • Core/Insulation Crimp: D/3
  • Release Tool/Test Probe: 12094430/J-35616-42 (RD)
  • Pins: 16, 45
  • Terminal/Tray: 7116-4141-02/10
  • Core/Insulation Crimp: A/3
  • Release Tool/Test Probe: 12094430/J-35616-42 (RD)
  • Pins: 3, 4, 18, 19, 32, 12, 13, 21, 26, 27, 41, 42, 43, 44
  • Terminal/Tray: 638551-1/16
  • Core/Insulation Crimp: Pins 3, 4, 18, 19, 32 - J/J
  • Core/Insulation Crimp: Pins 12, 13, 21, 26, 27, 41, 42, 43, 44 - K/K
  • Release Tool/Test Probe: 15315247/J-35616-64A (L-BU)