LEMON Manuals: Even more car manuals for everyone: 1960-2025
Home >> Chevrolet >> 2008 >> Malibu L4-2.4L >> Repair and Diagnosis >> Powertrain Management >> Computers and Control Systems >> Engine Control Module >> Locations
April 5, 2026: LEMON Manuals is launched! Read the announcement.

Engine Control Module: Locations



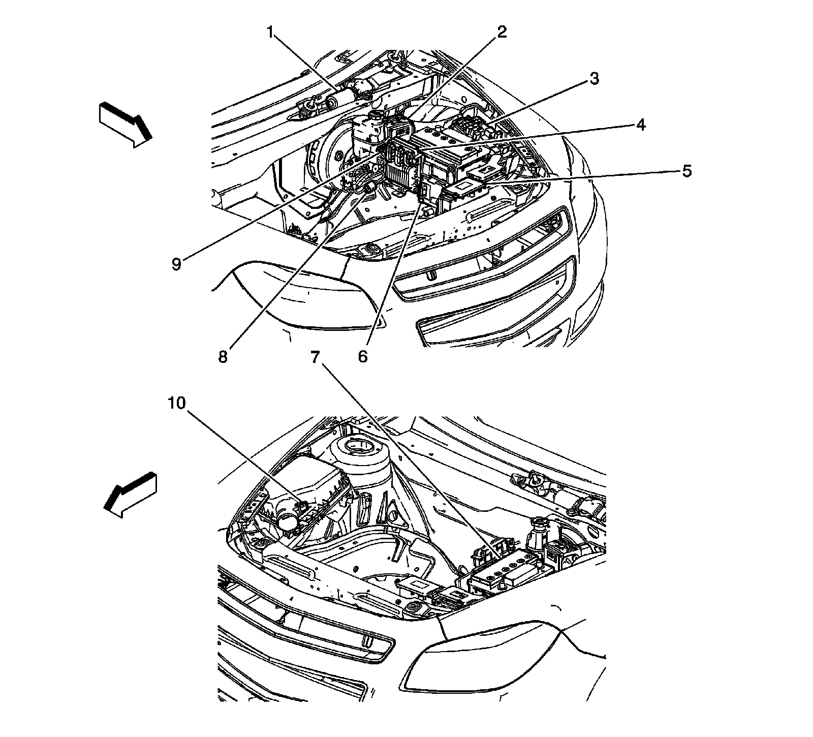
Front of Vehicle/Engine Compartment Component Views

Underhood Components (+LE5+LZ4+LY7)




1 - Windshield Wiper Motor
2 - Brake Fluid Pressure Sensor
3 - Electronic Brake Control Module (EBCM)
4 - Fuse Block - Underhood
5 - Transmission Control Module (TCM) (ME7/MN5)
6 - Battery
7 - Mass Air Flow (MAF)/Intake Air Temperature (IAT) Sensor
8 - Engine Control Module (ECM) (LE5/LY7/LZ4)
9 - Brake Fluid Level Switch

Underhood Components (+LAT)




1 - Windshield Wiper Motor
2 - Brake Fluid Pressure Sensor (FX3)
3 - Fuse Block - Underhood
4 - Engine Control Module (ECM) (LAT)
5 - Starter Generator Control Module (SGCM) (LAT)
6 - Transmission Control Module (TCM) (MH2)
7 - Battery
8 - Brake Booster Vacuum Sensor (LAT)
9 - Brake Fluid Level Switch
10 - Mass Air Flow (MAF)/Intake Air Temperature (IAT) Sensor