LEMON Manuals: Even more car manuals for everyone: 1960-2025
Home >> Chevrolet >> 2008 >> Optra LS, Automatic >> Repair and Diagnosis (Single Page) >> Quick Lookups >> Electrical Component Locations >> Wiring Systems And Power Management - Door, Luggage Compartment. Underbody & Electrical Center Component Views, & Component Connector End Views >> Component Connector End Views >> Tire Pressure Monitor System (TPMS) Module
April 5, 2026: LEMON Manuals is launched! Read the announcement.

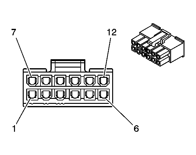
Tire Pressure Monitor System (TPMS) Module

Fig 1: Tire Pressure Monitor System (TPMS) Module Connector End View
GM1455870Courtesy of GENERAL MOTORS CORP.
Tire Pressure Monitor System (TPMS) Module Connector Terminal Identification

Pin Wire Circuit Function
1 OG - Battery Positive Voltage
2 D-GN/WH - Vehicle Speed Signal
3 PU - Serial Data
4 PU/WH - Brake Indicator Signal
5 WH - Light Switch
6 - - Not Used
7 BN - Charge Indicator Signal
8 PK - Ignition 2 Voltage
9 BK - Horn Relay
10 BN/WH - TPMS Indicator Control
11 BK - Ground
12 - - Not Used
Connector Part Information 
  • OEM:
  • Description: 12-Way F