LEMON Manuals: Even more car manuals for everyone: 1960-2025
Home >> Chevrolet >> 2009 >> Colorado 4WD L5-3.7L >> Repair and Diagnosis >> Engine, Cooling and Exhaust >> Engine >> Specifications >> Thread Repair Specifications
April 5, 2026: LEMON Manuals is launched! Read the announcement.

Thread Repair Specifications




Thread Repair Specifications

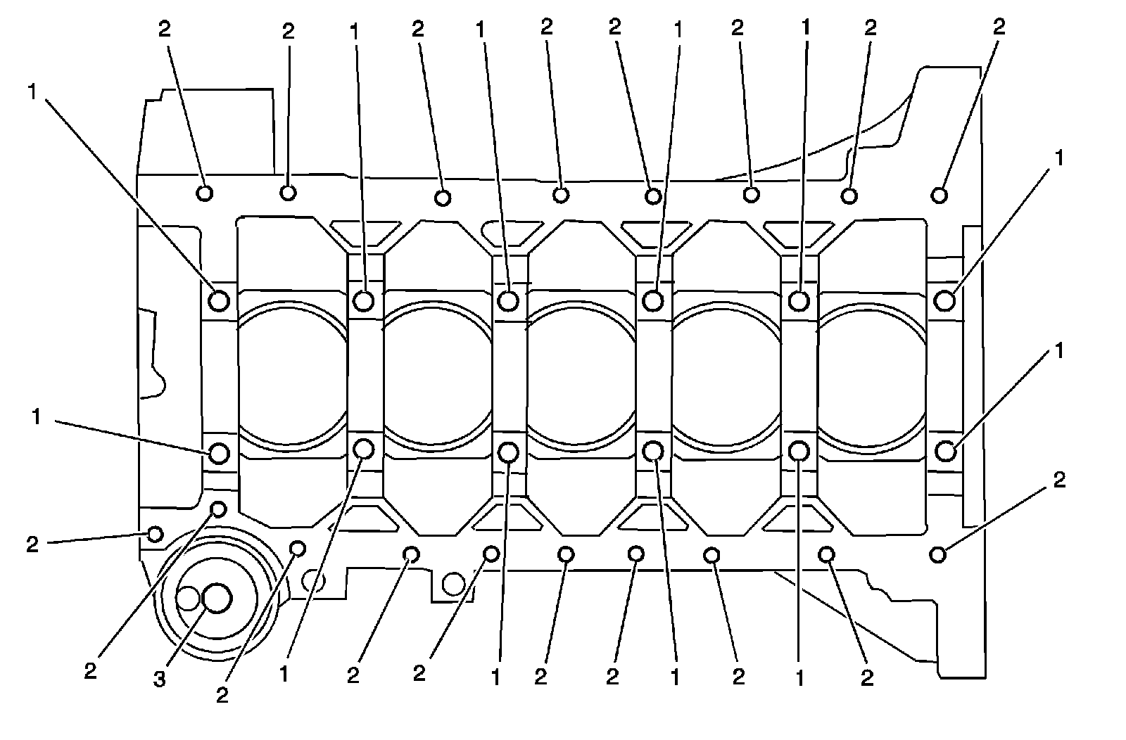
Engine Block - Top View









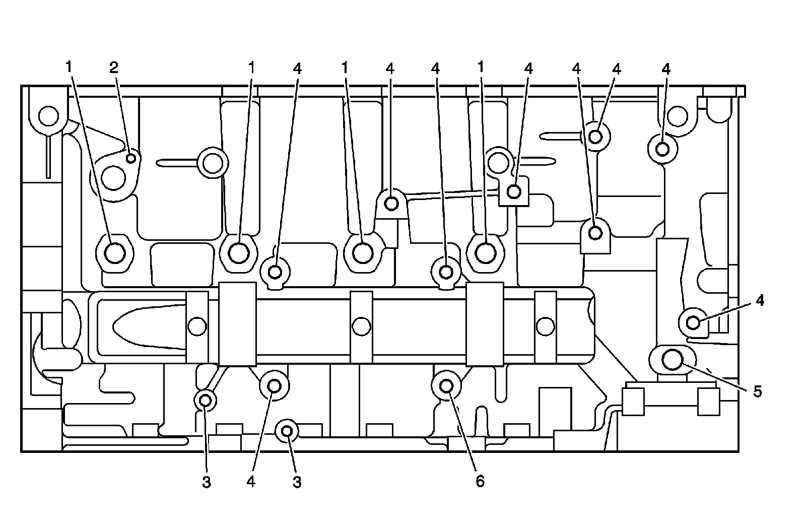
Engine Block - Bottom View









Engine Block - Left Side View









Engine Block - Right Side View









Engine Block - Front View









Engine Block - Rear View









Cylinder Head - Top View









Cylinder Head - End - Front View









Cylinder Head - End - Rear View









Cylinder Head - Intake Manifold Deck View









Cylinder Head - Exhaust Manifold Deck View









Oil Pan - Bottom View









Oil Pan - Rear View









Engine Front Cover









Crankshaft Rear Oil Seal Housing