LEMON Manuals: Even more car manuals for everyone: 1960-2025
Home >> Chevrolet >> 2009 >> Corvette V8-6.2L >> Repair and Diagnosis >> Body and Frame >> Seats >> Memory Positioning Systems >> Memory Positioning Switch >> Locations
April 5, 2026: LEMON Manuals is launched! Read the announcement.

Memory Positioning Switch: Locations




Door Component Views

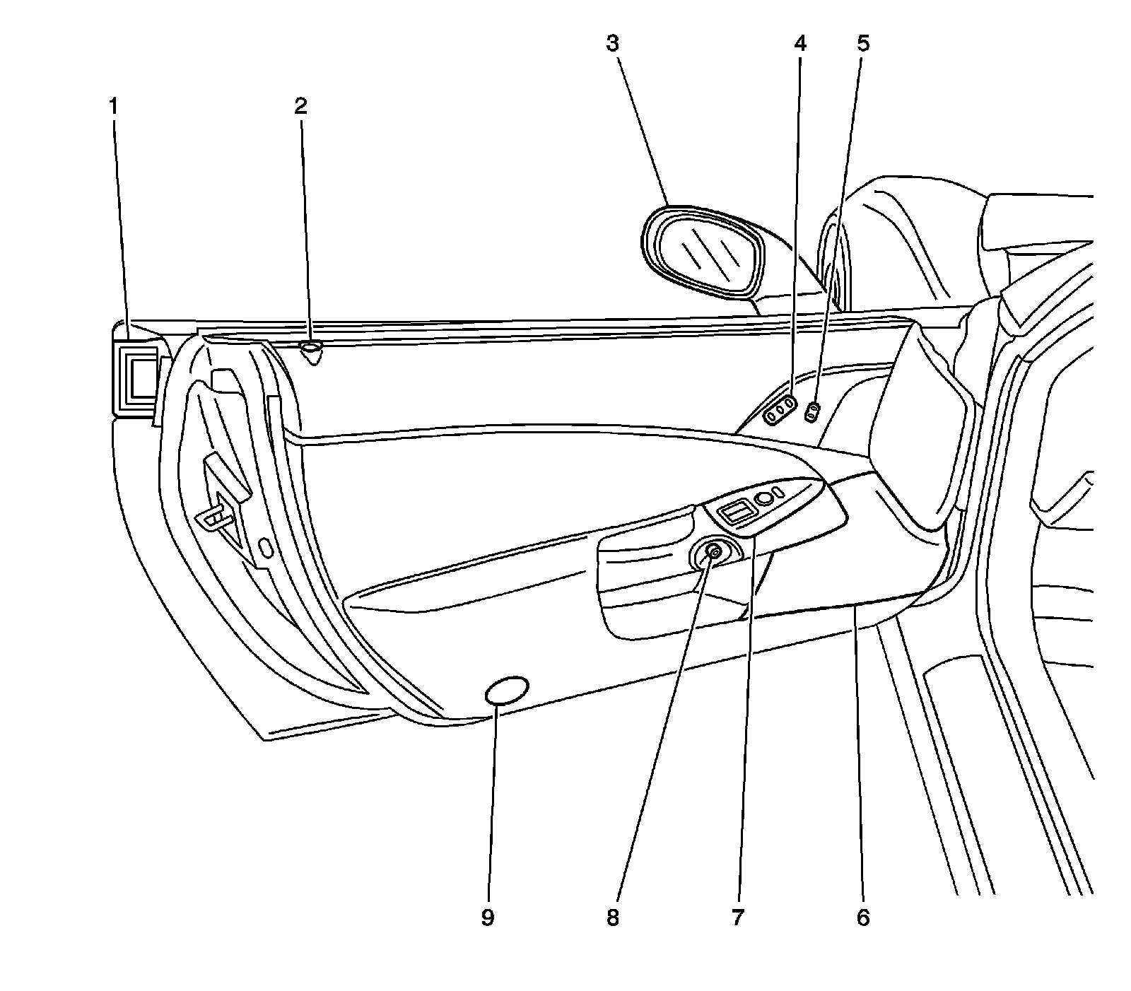
Driver Door




1 - Door Handle Switch - Driver Exterior
2 - Door Lock Indicator - Driver
3 - Outside Rearview Mirror - Driver
4 - Memory Seat Adjuster Switch (AAB)
5 - Door Lock Switch - Driver
6 - Speaker - Left Subwoofer
7 - Window Switch - Driver
8 - Door Handle Switch - Driver Interior
9 - Door Reflector (if equipped)

Driver Door Components




1 - Door Handle Switch - Driver Exterior
2 - Door Lock Indicator - Driver
3 - J579
4 - J559
5 - Memory Seat Adjuster Switch - Driver
6 - Door Lock Switch - Driver
7 - Speaker - Left Front
8 - Outside Rearview Mirror - Driver X1
9 - J539
10 - Outside Rearview Mirror - Driver X2
11 - X503
12 - X501
13 - Speaker - Left Subwoofer
14 - Door Control Module - Driver
15 - Window Switch - Driver
16 - Door Handle Switch - Driver Interior
17 - X555
18 - Inflatable Restraint Side Impact Sensor - Left (AJ7)