LEMON Manuals: Even more car manuals for everyone: 1960-2025
Home >> Chevrolet >> 2009 >> HHR SS, Automatic >> Repair and Diagnosis >> External Pages >> Different car >> Section 579 (Wiring Systems And Power Management - Component Connector End Views - MULTIFUNCTION Switch Through Trailer Connector) >> Component Connector End Views >> Park Brake Switch Connector End View
April 5, 2026: LEMON Manuals is launched! Read the announcement.

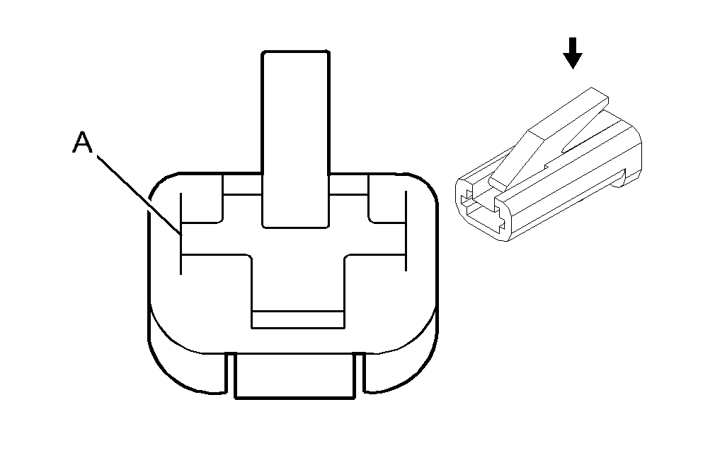
Park Brake Switch Connector End View

WARNING: This page is about a different car, the 2011 GMC Canyon and 2011 Chevrolet Colorado. However, it is still accessible from the selected car via links, so may be relevant.
Fig 1: Park Brake Switch Connector End View
GM856503Courtesy of GENERAL MOTORS CORP.
Park Brake Switch

Pin Wire Circuit Function
A 0.8 L-BU 1134 Park Brake Switch Signal
Connector Part Information 
  • Harness: Body
  • OEM: 8911256
  • Service: 12102561
  • Description: 1-Way F (WH)
Terminal Part Information 
  • Terminated Lead: Pending
  • Release Tool: Pending
  • Diagnostic Test Probe: Pending
  • Terminal/Tray: Pending
  • Core/Insulation Crimp: Not Available