LEMON Manuals: Even more car manuals for everyone: 1960-2025
Home >> Chevrolet >> 2009 >> Impala V8-5.3L >> Repair and Diagnosis >> Diagrams >> Exploded Views >> Engine
April 5, 2026: LEMON Manuals is launched! Read the announcement.

Engine




Disassembled Views

Intake Manifold/Upper Engine




100 - Engine Block
307 - Engine Coolant Air Bleed Pipe
308 - Seal
308 - Seal
309 - Bolt
311 - Coolant Hose
312 - Bolt
313 - Engine Coolant Air Bleed Cover
322 - Clamp
451 - Valve Lifter Oil Manifold
452 - Valve Lifter Oil Filter
454 - O-ring
500 - Intake Manifold
506 - Bolt
508 - Throttle Body
509 - Throttle Body Gasket
510 - Fuel Rail with Injectors
511 - Bolt
512 - Bolt
513 - Seal
514 - Intake Manifold Gasket
538 - Bolt
556 - Valve Lifter Oil Manifold Gasket
557 - Fuel Rail Ground Strap
560 - Bolt/Stud
706 - Oil Pressure Sensor
707 - Washer
714 - Manifold Absolute Pressure (MAP) Sensor
715 - O-ring
729 - Evaporative Emission (EVAP) Canister Purge Tube
730 - EVAP Canister Purge Solenoid Valve
736 - MAP Sensor Bolt
741 - EVAP Canister Purge Solenoid Valve Bracket

Cylinder Head/Upper Engine




100 - Engine Block
209 - Valve Lifter - Non Active Fuel Management
210 - Valve Lifter Guide
211 - Bolt
212 - Pushrod
213 - Rocker Arm
214 - Bolt
215 - Rocker Arm Pivot Support
216 - Core Hole Plug
217 - Cylinder Head Gasket
218 - Cylinder Head
219 - Valve Lifter - Active Fuel Management
220 - Bolt - M11
221 - Bolt - M8
222 - Valve Stem Oil Seal
223 - Valve Spring
224 - Valve Spring Cap
225 - Valve Stem Key
226 - Core Hole Plug
227 - Intake Valve
228 - Exhaust Valve
229 - Cylinder Head Coolant Plug
230 - Cylinder Head Locating Pin
422 - Oil Fill Tube O-ring
423 - Oil Fill Tube
424 - Oil Fill Cap
450 - Oil Fill Cap O-ring
504 - Valve Cover Gasket
504 - Valve Cover Gasket
505 - Valve Cover
505 - Valve Cover
515 - Valve Cover Bolt Grommet
515 - Valve Cover Bolt Grommet
516 - Bolt
516 - Bolt
600 - Exhaust Manifold
601 - Exhaust Manifold Gasket
602 - Bolt
603 - Exhaust Manifold Heat Shield
604 - Bolt
605 - Stud
606 - Exhaust Pipe
607 - Nut
608 - Bolt
609 - Heat Shield
700 - Positive Crankcase Ventilation (PCV) Hose - Fresh Air
716 - PCV Hose - Dirty Air
719 - Ignition Coil Bracket
720 - Bolt
721 - Ignition Coil Wire Harness
722 - Ignition Coil
723 - Bolt
724 - Spark Plug Wire
725 - Coolant Temperature Sensor (CTS)
726 - Spark Plug

Front of Engine




1 - Bolt
2 - Water Pump
3 - Water Pump Gasket
4 - Bolt
5 - Water Manifold
6 - O-Ring
7 - Coolant Cap
8 - Water Manifold Gasket
9 - O-Ring
10 - Thermostat
11 - Water Inlet Housing
12 - Bolt
13 - Engine Block
14 - Camshaft Bearings
15 - Camshaft
16 - Camshaft Sprocket Locating Pin
17 - Camshaft Retainer
18 - Bolt
19 - Camshaft Sprocket
20 - Bolt
21 - Crankshaft Sprocket
22 - Timing Chain
23 - Timing Chain Tensioner
24 - Bolt
25 - Front Cover Gasket
26 - Front Cover
27 - O-Ring
28 - Camshaft Position (CMP) Sensor
29 - Bolt
30 - Crankshaft Front Oil Seal
31 - Bolt
32 - Crankshaft Balancer
33 - Bolt
34 - Bolt
35 - Oil Pump Assembly
36 - Bolt
37 - Oil Pump Cover
38 - Drive Gear
39 - Driven Gear
40 - Plug
41 - Pressure Relief Valve Spring
42 - Pressure Relief Valve
43 - O-Ring
44 - Bolt
45 - Nut
46 - Oil Pump Screen

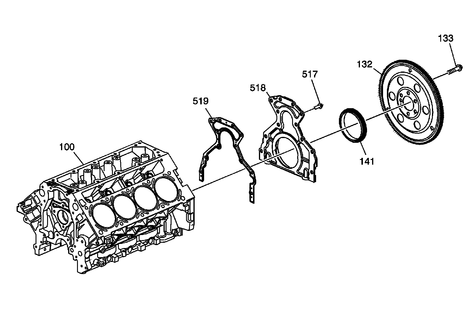
Rear of Engine




100 - Engine Block
132 - Flex Plate - Automatic Transmission
133 - Bolt
141 - Crankshaft Rear Oil Seal
517 - Bolt
518 - Crankshaft Rear Oil Seal Housing
519 - Crankshaft Rear Oil Seal Housing Gasket

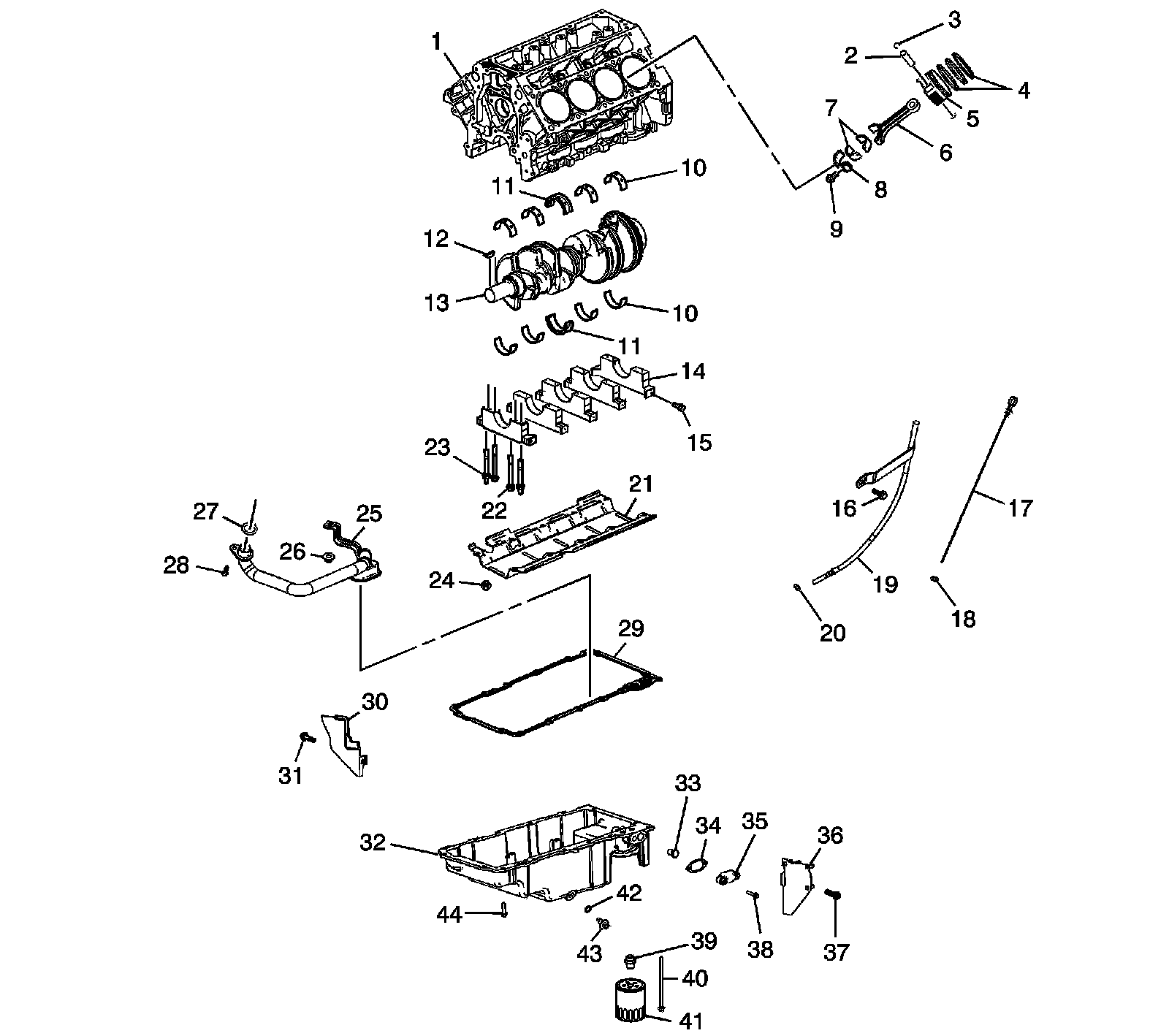
Lower Engine Assembly




1 - Engine Block
2 - Piston Pin
3 - Retainer
4 - Piston Rings
5 - Piston
6 - Connecting Rod
7 - Connecting Rod Bearings
8 - Connecting Rod Cap
9 - Bolt
10 - Crankshaft Main Bearing
10 - Crankshaft Main Bearing
11 - Crankshaft Thrust Bearing
11 - Crankshaft Thrust Bearing
12 - Crankshaft Sprocket Key
13 - Crankshaft
14 - Crankshaft Bearing Cap
15 - Bolt - M8
16 - Bolt
17 - Oil Level Indicator
18 - O-Ring
19 - Oil Level Indicator Tube
20 - O-Ring
21 - Crankshaft Oil Deflector
22 - Bolt - M10
23 - Stud - M10
24 - Nut
25 - Oil Pump Screen
26 - Nut
27 - O-Ring
28 - Bolt
29 - Oil Pan Gasket
30 - Cover - Right
31 - Bolt
32 - Oil Pan
33 - Oil Pressure Relief Valve - Active Fuel Management
34 - Oil Pan Cover Gasket
35 - Cover
36 - Cover - Left
37 - Bolt
38 - Bolt
39 - Oil Filter Fitting
40 - Bolt
41 - Oil Filter
42 - O-Ring
43 - Oil Pan Drain Plug
44 - Bolt

Engine Block Plugs/Sensors




100 - Engine Block
100 - Engine Block
101 - Oil Gallery Plug - Front
110 - O-Ring
111 - Oil Gallery Plug - Rear
112 - Oil Gallery Plug - Side
113 - Washer
114 - Coolant Heater
115 - Washer
116 - Oil Gallery Plug - Side
117 - Washer
130 - Transmission Housing Locating Pin
145 - Washer
146 - Engine Block Coolant Drain Hole Plug
701 - Crankshaft Position (CKP) Sensor
702 - O-Ring
718 - Knock Sensor
718 - Knock Sensor
739 - Bolt
739 - Bolt
750 - Bolt

Oil Pump Assembly




408 - Bolt
409 - Oil Pump Housing Cover
410 - Oil Pump Drive Gear
412 - Oil Pump Driven Gear
413 - Oil Pump
414 - Oil Pump Pressure Relief Valve
415 - Oil Pump Pressure Relief Valve Spring
416 - Oil Pump Housing Plug