LEMON Manuals: Even more car manuals for everyone: 1960-2025
Home >> Chevrolet >> 2009 >> Traverse LS, AWD >> Repair and Diagnosis >> External Pages >> Different car >> Section 148 (Wiring Systems And Power Management - Component Connector End Views - Memory Seat Module X6 Through Yaw Sensor) >> Component Connector End Views >> Park Lamp - Right Front (Z88)
April 5, 2026: LEMON Manuals is launched! Read the announcement.

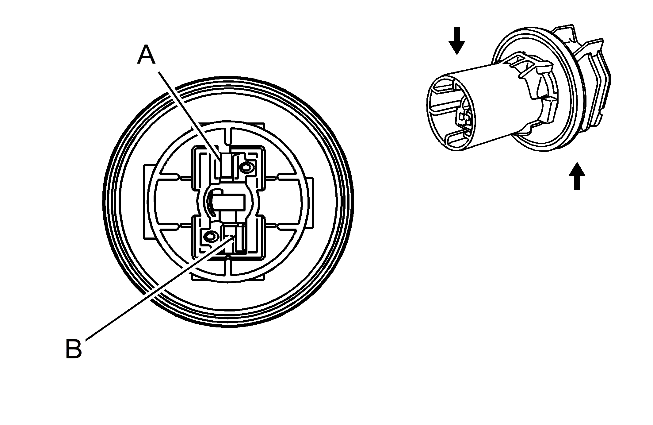
Park Lamp - Right Front (Z88)

WARNING: This page is about a different car, the 2011 GMC Acadia, 2011 Chevrolet Traverse, and 2011 Buick Enclave. However, it is still accessible from the selected car via links, so may be relevant.
Fig 1: Park Lamp - Right Front (Z88) Connector End View
GM1998684Courtesy of GENERAL MOTORS CORP.
Park Lamp - Right Front (Z88)

Pin Wire Circuit Function
A 0.5 D-BU - Right Park Lamp Voltage
0.5 L-BU - Right Park Lamp Voltage
B 0.5 BK - Ground
Connector Part Information
  • Harness Type: Right Headlamp
  • OEM Connector: 5230
  • Service Connector: Pending
  • Description: 2-Way F WBN-F35.4 Bulb Holder (BK)
Terminal Part Information
  • Terminated Lead: Service by Connector Assembly - 5230
  • Release Tool: Not Available
  • Diagnostic Test Probe: Not Available
  • Terminal/Tray: Not Available
  • Core/Insulation Crimp: Not Available