LEMON Manuals: Even more car manuals for everyone: 1960-2025
Home >> Chevrolet >> 2009 >> Traverse LS, AWD >> Repair and Diagnosis >> External Pages >> Different car >> Section 197 (Wiring Systems And Power Management - Component Connector End Views - EVAP Canister Vent Solenoid Through Memory Seat Module X5) >> Component Connector End Views >> Head Up Display (HUD) (UV6)
April 5, 2026: LEMON Manuals is launched! Read the announcement.

Head Up Display (HUD) (UV6)

WARNING: This page is about a different car, the 2011 GMC Acadia, 2011 Chevrolet Traverse, and 2011 Buick Enclave. However, it is still accessible from the selected car via links, so may be relevant.
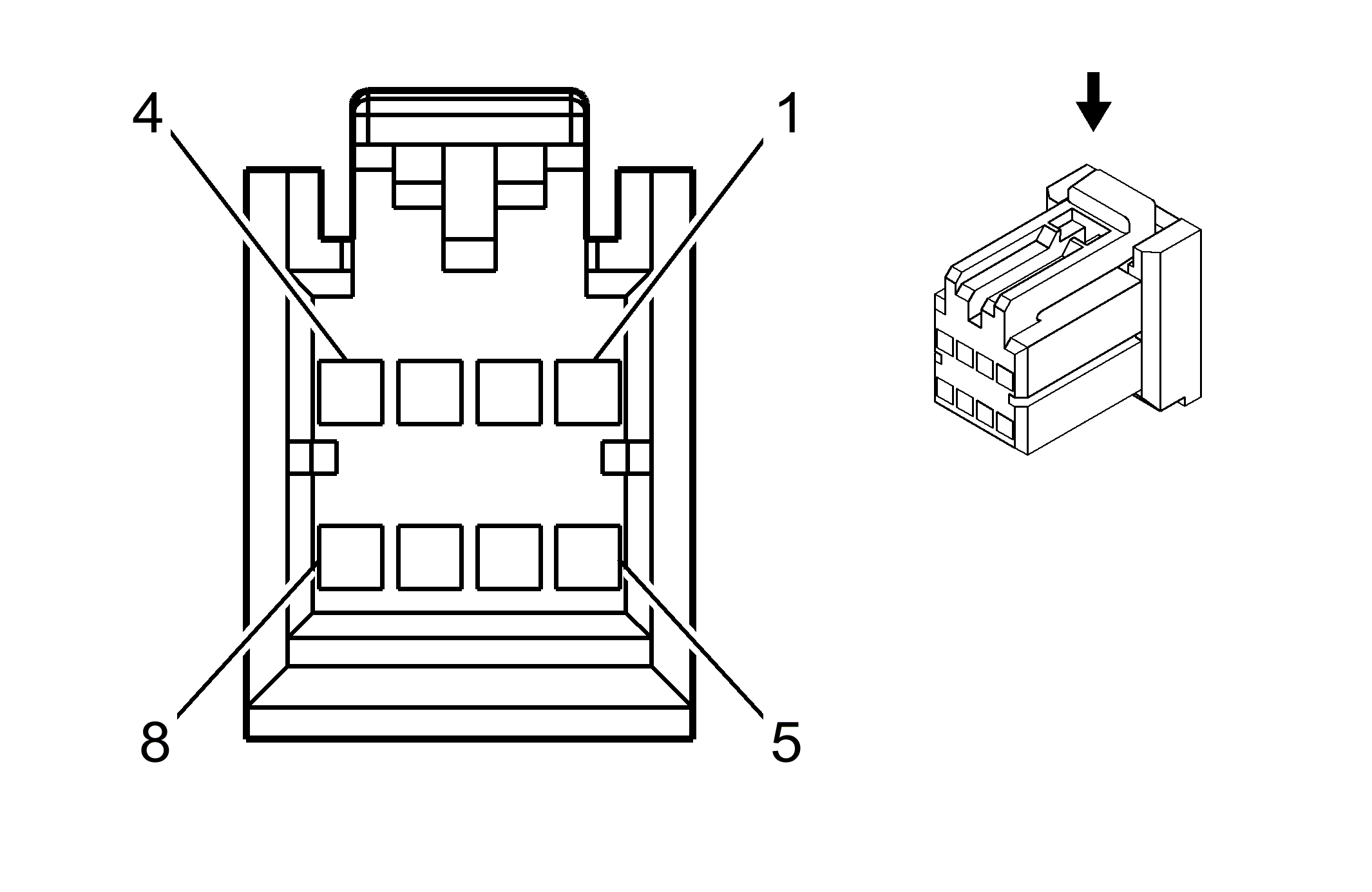
Fig 1: Connector End View Head Up Display (HUD) (UV6)
GM483131Courtesy of GENERAL MOTORS CORP.
Head Up Display (HUD) (UV6)

Pin Wire Circuit Function
1 0.35 D-GN 5060 Low Speed GMLAN Serial Data
2 - - Not Used
3 0.35 BN 622 HUD Switch Signal
4 0.35 BK/WH 1551 Ground
5 0.35 L-BU/BK 5812 HUD Off/Dimming Control
6 0.5 RD/WH 4540 Battery Positive Voltage
7 - - Not Used
8 0.35 L-GN/BK 5699 Low Reference
Connector Part Information
  • Harness Type: Instrument Panel
  • OEM Connector: 175964-2
  • Service Connector: 15306185
  • Description: 8-Way F 040 Multilock Series (BK)
Terminal Part Information
  • Terminated Lead: Pending
  • Release Tool: J-38125-553
  • Diagnostic Test Probe: J-35616-16 (L-GN)
  • Terminal/Tray: 173681-2/17
  • Core/Insulation Crimp: E/4