LEMON Manuals: Even more car manuals for everyone: 1960-2025
Home >> Chevrolet >> 2010 >> Colorado 2WD L4-2.9L >> Repair and Diagnosis >> Powertrain Management >> Computers and Control Systems >> Body Control Module >> Locations >> Harness Routing Views
April 5, 2026: LEMON Manuals is launched! Read the announcement.

Harness Routing Views




Harness Routing Views

Instrument Panel Harness Routing




1 - Accessory Switch X2
2 - Hazard Switch
3 - Accessory Switch X1
4 - Digital Radio Receiver (U2K)
5 - Inflatable Restraint I/P Module
6 - Ambient Light Sensor
7 - Vehicle Communication Interface Module (VCIM) (UE1)
8 - Courtesy Lamp - Footwell Right
9 - Body Control Module (BCM) X2
10 - X201 (I/P Harness to Body Harness)
11 - HVAC Control Module X1
12 - Auxiliary Power Outlet 2
13 - Auxiliary Power Outlet 1
14 - HVAC Control Module X2
15 - Courtesy Lamp - Footwell Left
16 - Data Link Connector (DLC)
17 - X204 (Steering Column Harness to I/P Harness)
18 - X208 (I/P Harness to Body Harness)
19 - X200 (I/P Harness to Body Harness)
20 - Headlamp and Panel Dimmer Switch
21 - Instrument Panel Cluster (IPC)
22 - Radio X1
23 - Radio X2

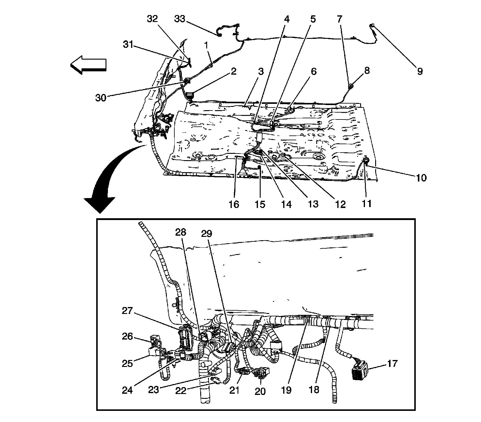
Body Harness Routing 2 of 3 (Extended Cab)




1 - X310
2 - X201
3 - G301
4 - G302
5 - Inflatable Restraint Sensing and Diagnostic Module (SDM)
6 - X313
7 - X801
8 - X800
9 - Cargo Lamp/Center High Mounted Stop Lamp (CHMSL)
10 - X700
11 - X701
12 - X314
13 - Transfer Case Shift Control Module X1
14 - Transfer Case Shift Control Module X2
15 - G Sensor
16 - G300
17 - Accelerator Pedal position (APP) Sensor
18 - J102
19 - J100
20 - Stop Lamp Switch
21 - TCC Brake/Cruise Release Switch
22 - Park Brake Switch
23 - Clutch Switch
24 - Inflatable Restraint Roof Rail Module - Right
25 - X501 (AU3 and A31)
26 - X500
27 - X200
28 - X275
29 - Clutch Start Switch (MA5)
30 - Body Control Module (BCM) X1
31 - X601 (AU3 and A31)
32 - X600
33 - Inside Rearview Mirror

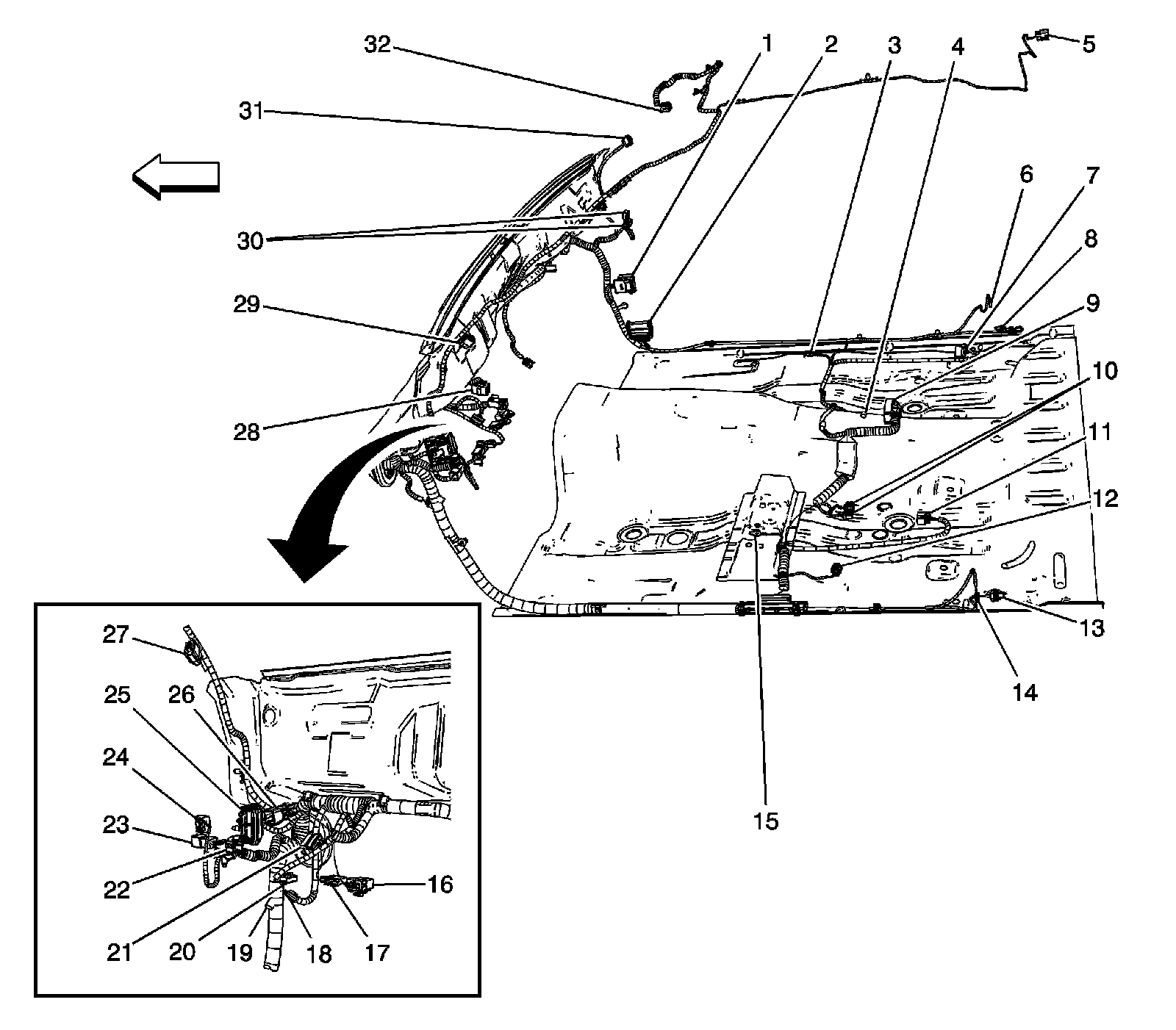
Body Harness Routing 2 of 3 (Crew Cab)




1 - Body Control Module (BCM) X1
2 - X201
3 - G301
4 - G302
5 - Inflatable Restraint Sensing and Diagnostic Module (SDM)
6 - X800
7 - Cargo Lamp/Center High Mounted Stop Lamp (CHMSL)
8 - Door Jamb Switch - Front Passenger
9 - Seat Belt Pretensioner - Right Front
10 - Door Jamb Switch - Right Rear
11 - X313
12 - X700
13 - X314
14 - Seat Belt Pretensioner - Left Front
15 - Door Jamb Switch - Left Rear
16 - Door Jamb Switch - Driver
17 - Transfer Case Shift Control Module X1 and X2
18 - G Sensor
19 - G300
20 - Stop Lamp Switch
21 - TCC Brake/Cruise Release Switch
22 - Park Brake Switch
23 - J303
24 - Clutch Switch
25 - Clutch Start Switch
26 - X208
27 - X500
28 - X501
29 - X200
30 - X275
31 - Inflatable Restraint Roof Rail Module - Left
32 - Accelerator Pedal Position (APP) Sensor
33 - X310
34 - X600 and X601 (AU3 and A31)
35 - Inflatable Restraint Roof Rail Module - Right
36 - Inside Rearview Mirror

Body Harness Routing 2 of 3 (Regular Cab)




1 - Body Control Module (BCM) X1
2 - X201
3 - G301
4 - G302
5 - Cargo Lamp/Center High Mounted Stop Lamp (CHMSL)
6 - Door Jamb Switch - Front Passenger
7 - X313
8 - Seat Belt Pretensioner - Right Front
9 - Inflatable Restraint Sensing and Diagnostic Module (SDM)
10 - Transfer Case Shift Control Module
11 - X314
12 - G Sensor
13 - Seat Belt Pretensioner - Left Front
14 - Door Jamb Switch - Driver
15 - G300
16 - Stop Lamp Switch
17 - TCC Brake/Cruise Release Switch
18 - Park Brake Switch
19 - J303
20 - Clutch Switch
21 - Clutch Start Switch
22 - X208
23 - X500
24 - X501 (AU3 and A31)
25 - X200
26 - X275
27 - Inflatable Restraint Roof Rail Module - Left
28 - Accelerator Pedal Position (APP) Sensor
29 - X310
30 - X600 and X601 (AU3 and A31)
31 - Inflatable Restraint Roof Rail Module - Right
32 - Inside Rearview Mirror