LEMON Manuals: Even more car manuals for everyone: 1960-2025
Home >> Chevrolet >> 2010 >> Corvette V8-6.2L SC >> Repair and Diagnosis >> Locations >> Component Locations >> Powertrain Component Views
April 5, 2026: LEMON Manuals is launched! Read the announcement.

Powertrain Component Views




Powertrain Component Views

Top of Engine Components (LS7)




1 - Engine Oil Tank
2 - Throttle Body
3 - Evaporative Emission (EVAP) Canister Purge Solenoid Valve
4 - Manifold Absolute Pressure (MAP) Sensor
5 - Ignition Coil 2
6 - Ignition Coil 4
7 - Ignition Coil 6
8 - Ignition Coil 8
9 - Fuel Injector 8
10 - Fuel Injector 6
11 - Fuel Injector 4
12 - Fuel Injector 2
13 - Fuel Injector 1
14 - Fuel Injector 3
15 - Fuel Injector 5
16 - Fuel Injector 7
17 - Ignition Coil 7
18 - Ignition Coil 5
19 - Ignition Coil 3
20 - Ignition Coil 1
21 - Generator
22 - Camshaft Position (CMP) Sensor (LS3 and LS7)
23 - Engine Oil Level and Temperature Sensor (LS3)

Left Side of Engine Components (LS7)




1 - Manifold Intake Check Valve
2 - Engine Oil Pressure (EOP) Sensor
3 - Heated Oxygen Sensor (HO2S) - Bank 1 Sensor 2
4 - Heated Oxygen Sensor (HO2S) - Bank 1 Sensor 1
5 - Knock Sensor (KS) 1
6 - Engine Coolant Temperature (ECT) Sensor

Right Side of Engine Components (LS7)




1 - Crankshaft Position (CKP) Sensor
2 - Knock Sensor (KS) 2
3 - Heated Oxygen Sensor (HO2S) - Bank 2 Sensor 1
4 - Starter Motor
5 - Heated Oxygen Sensor (HO2S) - Bank 2 Sensor 2

Top of Engine Components (LS9)




1 - Fuel Injector 7
2 - Ignition Coil 7
3 - Fuel Injector 5
4 - Ignition Coil 5
5 - Fuel Injector 3
6 - Ignition Coil 3
7 - Fuel Injector 1
8 - Ignition Coil 1
9 - Engine Coolant Temperature (ECT) Sensor
10 - Fuel Injector 2
11 - Ignition Coil 2
12 - Ignition Coil 4
13 - Fuel Injector 4
14 - Ignition Coil 6
15 - Fuel Injector 6
16 - Ignition Coil 8
17 - Fuel Injector 8
18 - Engine Oil Pressure (EOP) Sensor

Engine Harness Components (LS9) 1 of 3




1 - Engine Oil Pressure (EOP) Sensor
2 - Turn Signal Repeater Lamp - Right (T90)
3 - Engine Control Module (ECM) X1
4 - X180
5 - Fuse Block - Underhood X3
6 - Fuse Block - Underhood X4
7 - Heated Oxygen Sensor (HO2S) - Bank 2 Sensor 1
8 - Ignition Coil 8
9 - Ignition Coil 6
10 - Ignition Coil 4
11 - Generator X1
12 - Manifold Absolute Pressure (MAP) Sensor
13 - Generator X2
14 - Supercharger Air Inlet Pressure Sensor (JL9)
15 - A/C Compressor Clutch
16 - Wheel Speed Sensor (WSS) - Right Front
17 - Suspension Position Sensor - Right Front (FE2)
18 - Ignition Coil 2
19 - Fuse Block - Underhood X1
20 - Fuse Block - Underhood X2
21 - X182
22 - X184
23 - X186
24 - Engine Oil Temperature Sensor (LS7/LS9)
25 - Engine Control Module (ECM) X3
26 - Engine Control Module (ECM) X2
27 - Heated Oxygen Sensor (HO2S) - Bank 2 Sensor 2
28 - G106
29 - Knock Sensor (KS)
30 - Starter Motor X1
31 - Starter Motor X2
32 - Crankshaft Position (CKP) Sensor

Engine Harness Components (LS9) 2 of 3




1 - Fuse Block - Underhood X2
2 - Generator X1
3 - Generator X2
4 - Supercharger Air Inlet Pressure Sensor (JL9)
5 - Barometric Pressure (BARO) Sensor
6 - X149
7 - Evaporative Emission (EVAP) Canister Purge Solenoid Valve
8 - Supercharger Bypass Valve Solenoid (JL9)
9 - Manifold Absolute Pressure (MAP) Sensor
10 - X150
11 - Heated Oxygen Sensor (HO2S) - Bank 1 Sensor 1
12 - Heated Oxygen Sensor (HO2S) - Bank 1 Sensor 2
13 - Ignition Coil 7
14 - Ignition Coil 5
15 - Ignition Coil 3
16 - Ignition Coil 1
17 - Suspension Position Sensor - Left Front (FE2)
18 - Wheel Speed Sensor (WSS) - Left Front
19 - Engine Coolant Temperature (ECT) Sensor
20 - Camshaft Position (CMP) Sensor
21 - Electronic Brake Control Module (EBCM)
22 - Variable Effort Steering Actuator
23 - Throttle Body
24 - Mass Air Flow (MAF)/Intake Air Temperature (IAT) Sensor
25 - Knock Sensor (KS)

Engine Harness Components (LS9) 3 of 3




1 - X149
2 - Fuel Injector 8
3 - Supercharger Air Inlet Pressure Sensor (JL9)
4 - Engine Oil Pressure (EOP) Sensor
5 - Fuel Injector 7
6 - X150
7 - Ignition Coil 7
8 - Manifold Absolute Pressure (MAP) Sensor
9 - Fuel Injector 5
10 - Ignition Coil 5
11 - Fuel Injector 3
12 - Ignition Coil 3
13 - Ignition Coil 1
14 - Fuel Injector 1
15 - Supercharger Bypass Valve Solenoid (JL9)
16 - Evaporative Emission (EVAP) Canister Purge Solenoid Valve
17 - Throttle Body
18 - Fuel Injector 2
19 - Generator X2
20 - Ignition Coil 2
21 - Fuel Injector 4
22 - Ignition Coil 4
23 - Fuel Injector 6
24 - Barometric Pressure (BARO) Sensor
25 - Ignition Coil 6
26 - Ignition Coil 8

Automatic Transmission Components (MYC)




1 - Control Solenoid Valve Assembly

Automatic Transmission Internal Components (MYC)




1 - Control Solenoid Valve Assembly
2 - Automatic Transmission Input Shaft Speed (ISS) Sensor and Output Shaft Speed (OSS) Sensor Harness
3 - Automatic Transmission Internal Mode Switch (IMS) Harness

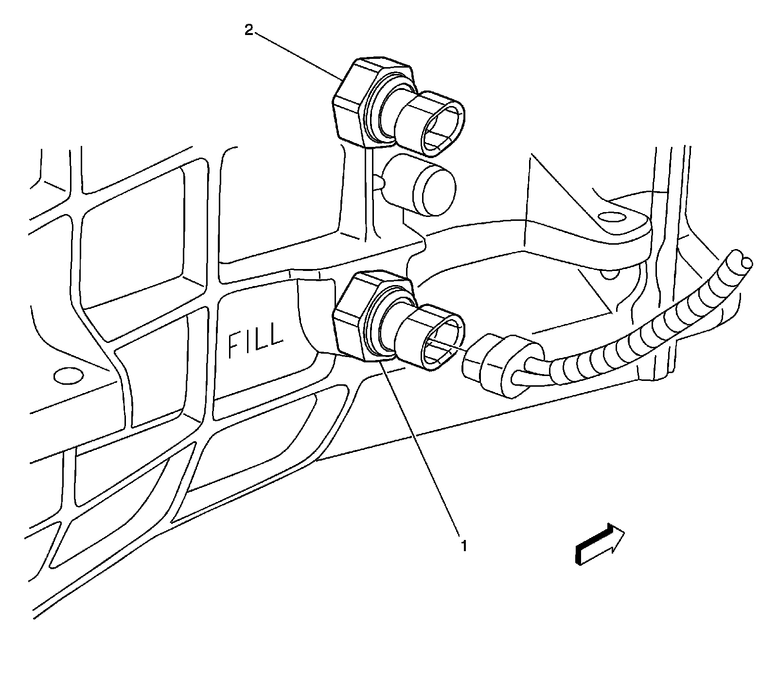
Manual Transmission Components - Left Side (MM6/MZ6/MN6)




1 - Reverse Lockout Solenoid
2 - Skip Shift Solenoid
3 - Vehicle Speed Sensor (VSS)

Manual Transmission Components - Right Side (MM6/MZ6/MN6)




1 - Manual Transmission Fluid Temperature Sensor
2 - Backup Lamp Switch