LEMON Manuals: Even more car manuals for everyone: 1960-2025
Home >> Chevrolet >> 2010 >> Corvette V8-6.2L >> Repair and Diagnosis >> Heating and Air Conditioning >> Control Module HVAC >> Locations
April 5, 2026: LEMON Manuals is launched! Read the announcement.

Control Module HVAC: Locations




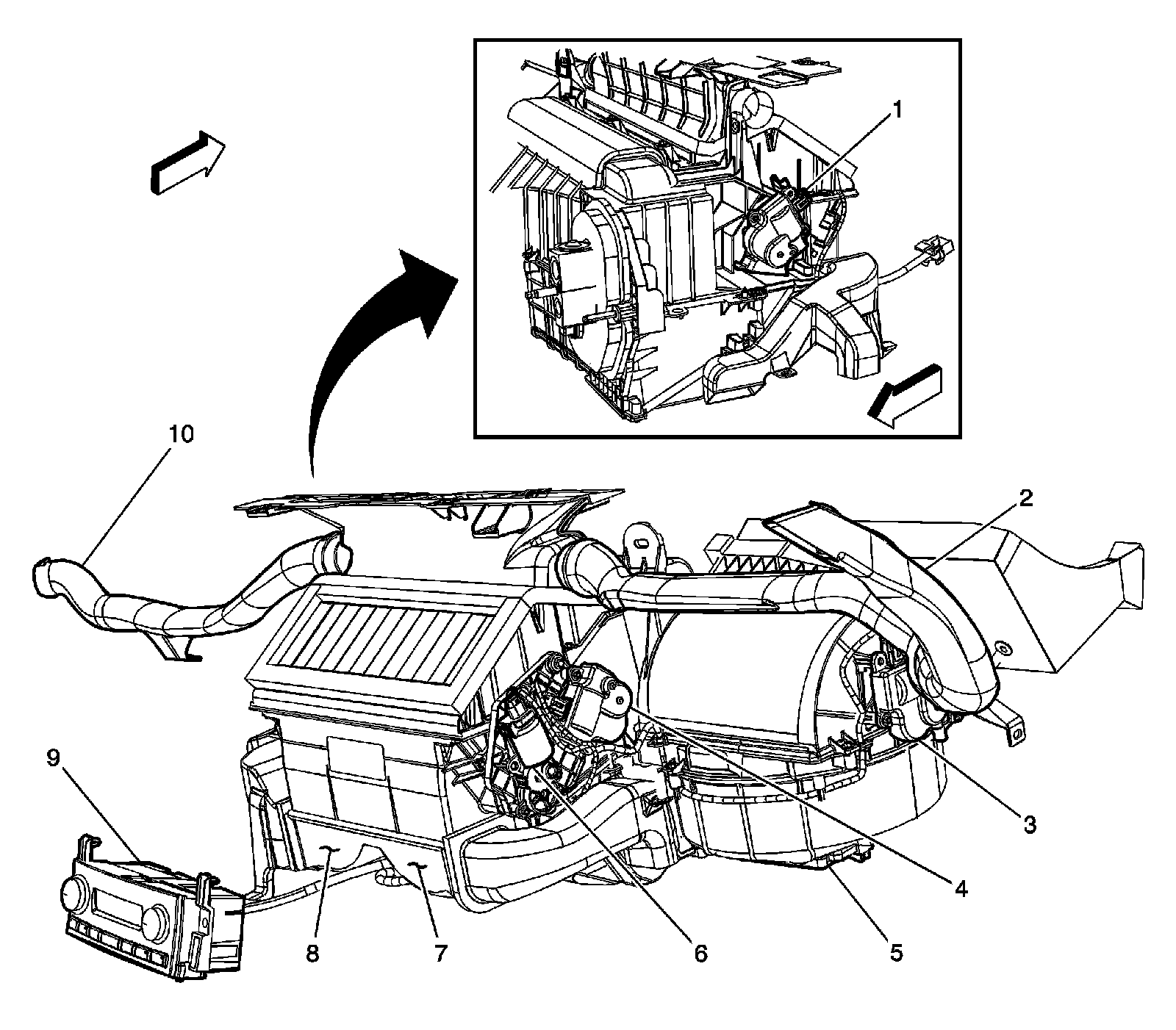
Instrument Panel/Center Console Component Views

Behind the Instrument Panel Components - HVAC Module




1 - Air Temperature Actuator - Left
2 - Air Temperature Sensor - Upper Right
3 - Recirculation Actuator
4 - Air Temperature Actuator - Right
5 - Blower Motor and Blower Motor Control Module
6 - Mode Actuator
7 - Air Temperature Sensor - Lower Right
8 - Air Temperature Sensor - Lower Left
9 - HVAC Control Module
10 - Air Temperature Sensor - Upper Left