LEMON Manuals: Even more car manuals for everyone: 1960-2025
Home >> Chevrolet >> 2010 >> Impala V6-3.5L >> Repair and Diagnosis >> Locations >> Component Locations >> Instrument Panel/Center Console Component Views
April 5, 2026: LEMON Manuals is launched! Read the announcement.

Instrument Panel/Center Console Component Views




Instrument Panel/Center Console Component Views

Upper Center of the Instrument Panel




1 - Remote Control Door Lock Receiver (RCDLR)
2 - Instrument Panel Carrier

Left Front Kick Panel




1 - G301
2 - X223 - Taped to Harness (9C1/9C3)
3 - X250
4 - X203
5 - Data Link Resistor - Taped to Harness (without UE1)

Instrument Panel Harness - Rear of the Instrument Panel Carrier




1 - J282
2 - J203
3 - J239
4 - J250
5 - J218
6 - Instrument Panel Carrier
7 - J259
8 - J269
9 - Fuse Block - Auxiliary

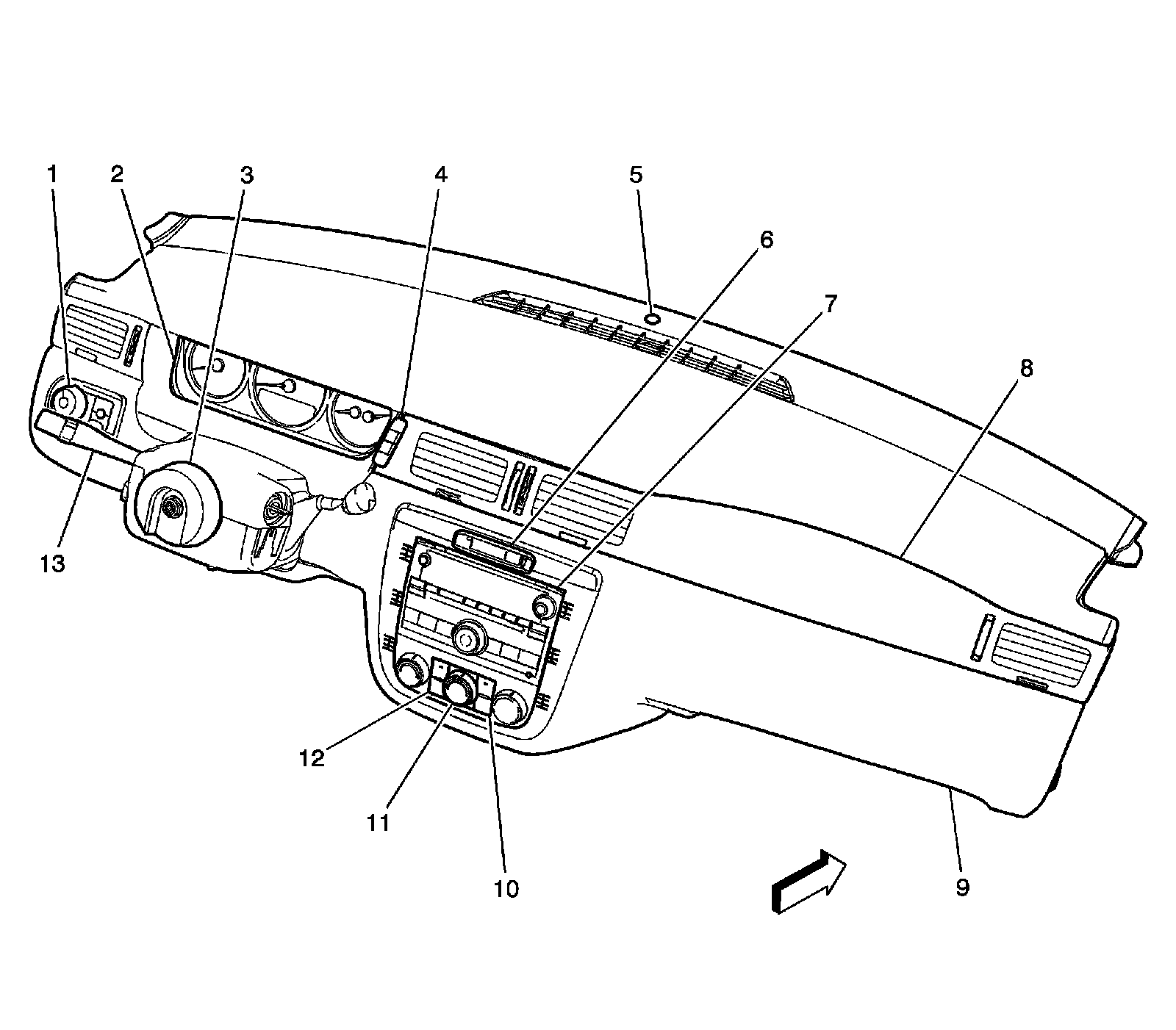
Instrument Panel




1 - Headlamp Switch
2 - Instrument Panel Cluster (IPC)
3 - Inflatable Restraint Steering Wheel Module Coil
4 - Driver Information Center (DIC) Switch
5 - Ambient Light Sensor
6 - Inflatable Restraint Passenger Air Bag On/Off Indicator (without 9C1/9C3)
7 - Radio
8 - Inflatable Restraint I/P Module
9 - Instrument Panel Trim Panel
10 - Heated Seat Switch - Passenger (KA1)
11 - HVAC Control Module
12 - Heated Seat Switch - Driver (KA1)
13 - Turn Signal/Multifunction Switch

Accessory Power Outlets (without Floor Console)




1 - Instrument Panel
2 - Accessory Power Outlet - I/P 2
3 - Accessory Power Outlet - I/P 1
4 - Accessory Power Outlet - Center Seat

Accessory Power Outlets (Floor Console)




1 - Accessory Power Outlet - Center Console 1
2 - Accessory Power Outlet - Center Console 2
3 - Accessory Power Outlet - Center Console Compartment

In the Center Console - Floor Shifter




1 - Floor Shifter
2 - Automatic Transmission Shift Lock Control Solenoid

Pedal Assemblies




1 - Park Brake Switch
2 - Dash Panel
3 - Brake Pedal Position (BPP) Sensor
4 - Accelerator Pedal Position (APP) Sensor

In Left Front Footwell




1 - I/P Courtesy Lamp - Left

In Right Front Footwell




1 - I/P Courtesy Lamp - Right

Steering Wheel Components




1 - Steering Wheel
2 - Steering Wheel Control Switch - Right
3 - Steering Wheel Control Switch - Left
4 - Horn Switch

Near the Steering Column




1 - Instrument Panel Carrier
2 - Inflatable Restraint Steering Wheel Module
3 - Steering Column
4 - Body Control Module (BCM)

Left Front of the Passenger Compartment, in the Steering Column




1 - Ignition Switch
2 - Theft Deterrent Module (TDM)
3 - Ignition Lock Cylinder Control Actuator

Steering Column Components - Column Shift




1 - Automatic Transmission Shift Lock Control Solenoid
2 - Steering Column

Interior HVAC Components




1 - HVAC Module
2 - Mode Actuator
3 - Air Temperature Actuator - Right
4 - Recirculation Actuator
5 - Blower Motor
6 - Blower Motor Control Module
7 - Air Temperature Actuator - Left

Right Front of the Passenger Compartment




1 - Dash Panel
2 - Fuse Block - I/P
3 - X303
4 - G302