LEMON Manuals: Even more car manuals for everyone: 1960-2025
Home >> Chevrolet >> 2011 >> Caprice >> Repair and Diagnosis >> Engine Performance >> Engine Control Systems >> Engine Controls And Fuel - 6.0L - Repair Instructions >> Repair Instructions >> Primary Fuel Tank Module Replacement >> Installation Procedure
April 5, 2026: LEMON Manuals is launched! Read the announcement.

Installation Procedure

    Fig 1: Primary Fuel Tank Module Seal Ring
    GM2169267Courtesy of GENERAL MOTORS CORP.
  1. Install a NEW primary fuel tank module seal ring (1) to the fuel tank assembly (2).
  2. Fig 2: Primary Fuel Tank Module
    GM2169266Courtesy of GENERAL MOTORS CORP.
    NOTE:

    Care should be taken not to damage the fuel level sensor float rod (3) when installing the primary fuel tank module (1) to the fuel tank assembly (2).

  3. Carefully lower the primary fuel tank module (1) into the fuel tank assembly (2), enough to connect the transfer tube connector (4) to the primary fuel tank module (1).
  4. NOTE:

    Listen for an audible click to confirm the correct installation of the transfer tube connector (4) to the primary fuel tank module (1).

  5. Connect the transfer tube connector (4) to the primary fuel tank module (1).
  6. Install the primary fuel tank module (1) to the fuel tank assembly (2).
  7. Fig 3: Primary Fuel Tank Module
    GM2169268Courtesy of GENERAL MOTORS CORP.
    NOTE:

    Apply suitable pressure onto the primary fuel tank module (4) to hold the primary fuel tank module (4) in place while installing the NEW cam lock ring (2).

  8. Hold the primary fuel tank module (4) in place while installing the NEW cam lock ring (2) to the fuel tank assembly (3) by rotating the cam lock ring (2) clockwise using the fuel tank sender wrench J-45722  Fuel Tank Sender Wrench (1).
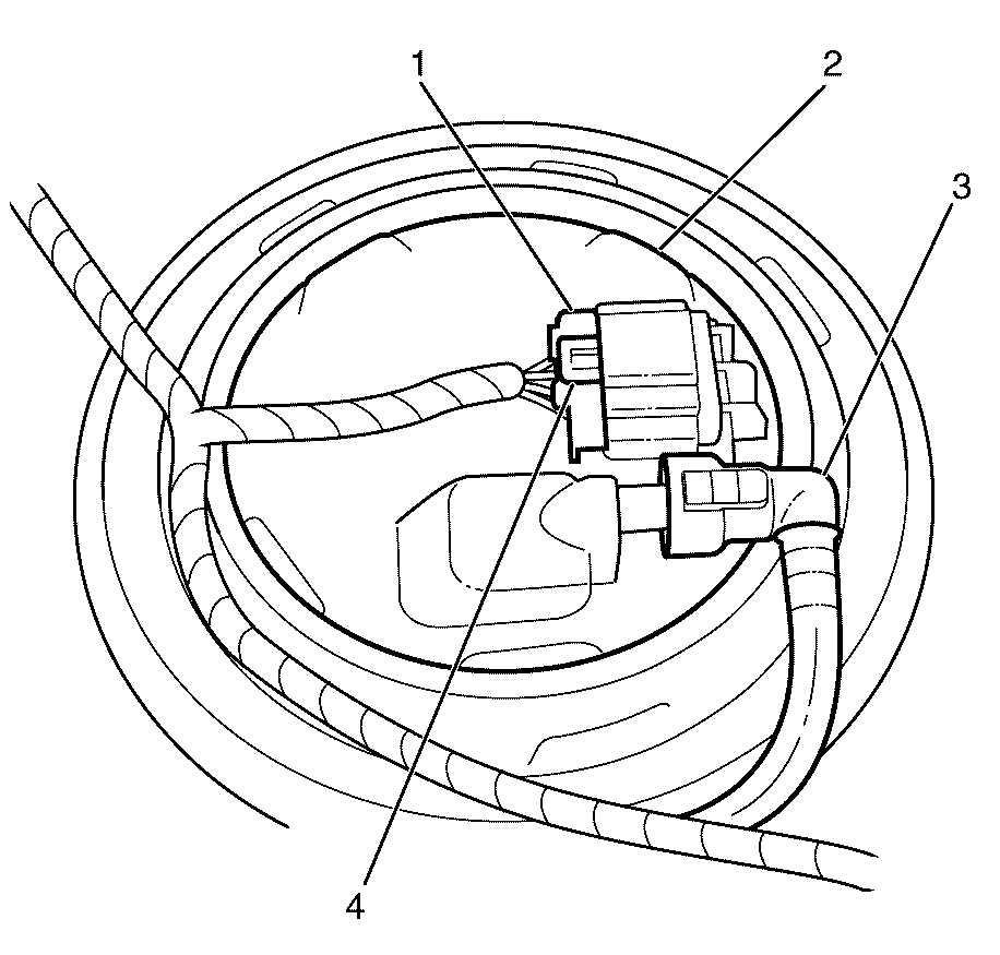
  9. Fig 4: Primary Fuel Tank Module
    GM2169264Courtesy of GENERAL MOTORS CORP.
    NOTE:

    Listen for an audible click to confirm the correct installation of the electrical harness connector (1) to the primary fuel tank module (2).

  10. Connect the electrical harness connector (1) to the primary fuel tank module (2).
  11. Connect the fuel feed pipe (3) to the primary fuel tank module (2). Refer to Plastic Collar Quick Connect Fitting Service 
  12. Install the fuel tank assembly. Refer to Fuel Tank Replacement .
  13. Lower the vehicle. Refer to Lifting and Jacking the Vehicle .
  14. Connect the battery negative cable. Refer to Battery Negative Cable Disconnection and Connection (Primary) , Battery Negative Cable Disconnection and Connection (Auxiliary) .