LEMON Manuals: Even more car manuals for everyone: 1960-2025
Home >> Chevrolet >> 2011 >> Express 2500 V8-4.8L >> Repair and Diagnosis >> Specifications >> Mechanical Specifications >> Engine >> System Specifications >> Thread Repair Specifications
April 5, 2026: LEMON Manuals is launched! Read the announcement.

Thread Repair Specifications




Thread Repair Specifications

Engine Block - Front/Rear Views









Engine Block - Left/Right Side Views









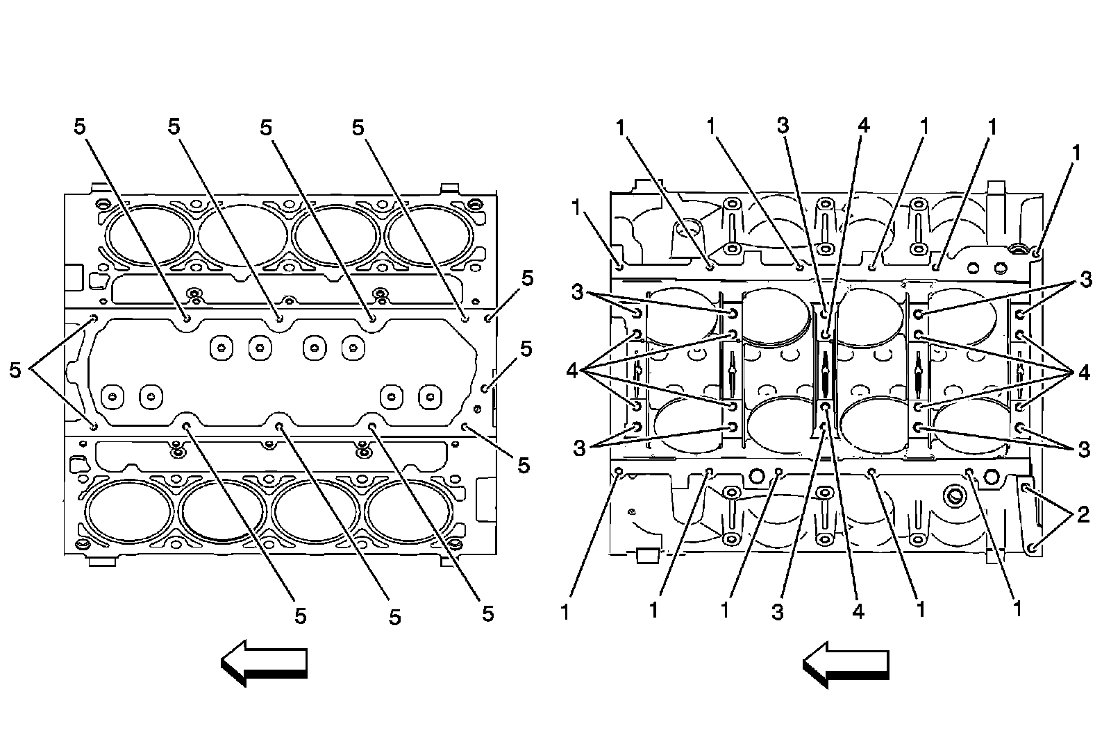
Engine Block - Top/Bottom Views









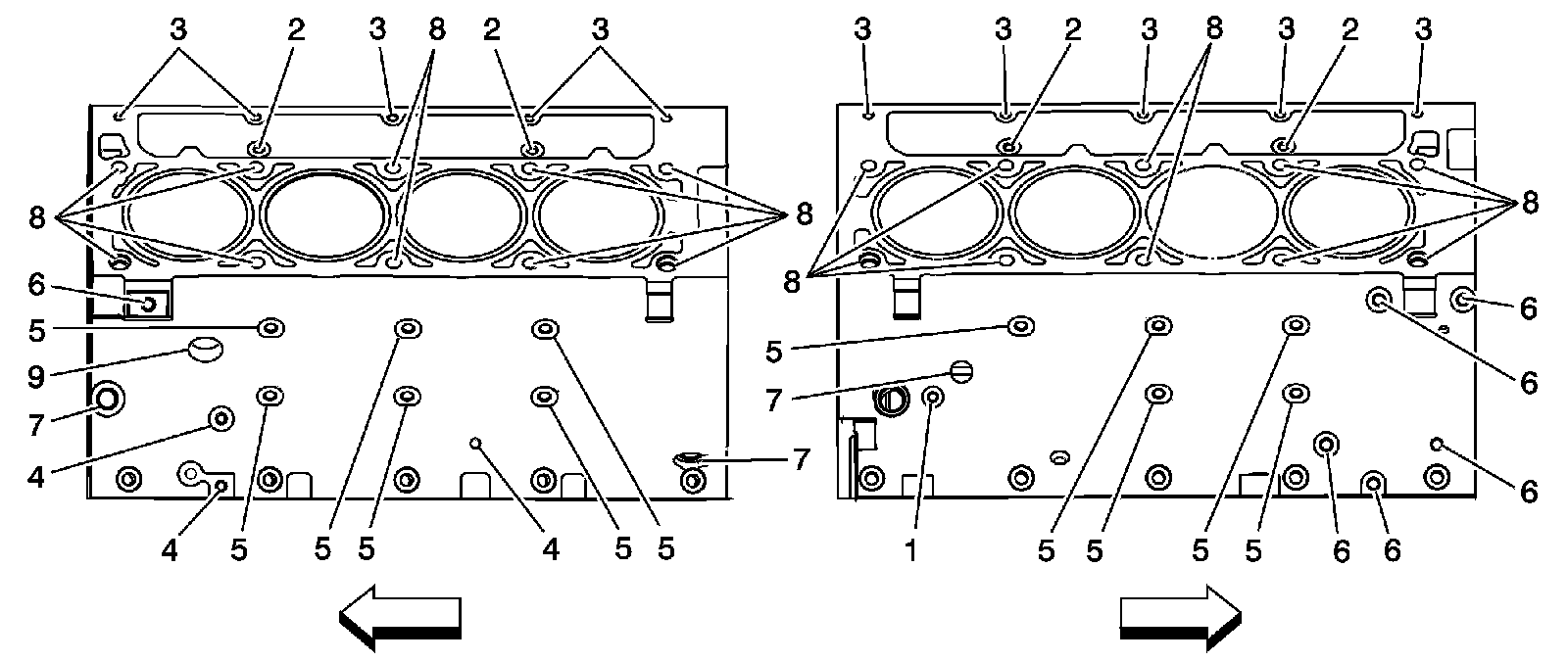
Cylinder Head - Top/End Views









Cylinder Head - Intake/Exhaust Side Views