LEMON Manuals: Even more car manuals for everyone: 1960-2025
Home >> Chevrolet >> 2011 >> HHR LS, Standard >> Repair and Diagnosis (Single Page) >> Quick Lookups >> Wiring Diagrams >> Wiring Systems And Power Management - Component Connector End Views - HVAC Control Assembly Through Yaw Sensor >> Component Connector End Views >> Inflatable Restraint Front End Sensor Connector End View
April 5, 2026: LEMON Manuals is launched! Read the announcement.

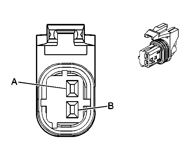
Inflatable Restraint Front End Sensor Connector End View

Fig 1: Inflatable Restraint Front End Sensor Connector End View
GM744055Courtesy of GENERAL MOTORS COMPANY
Inflatable Restraint Front End Sensor

Pin Wire Circuit Function
A 0.5 TN/OG 5045 Discriminating Sensor- Low Reference
B 0.5 YE 1834 Forward Discriminating Sensor Signal
Connector Part Information
  • Harness: Forward Lamp
  • OEM: 15356727
  • Service: 88953129
  • Description: 2-Way F GT 150 Series Sealed 4.0 (YE)
Terminal Part Information
  • Terminal/Tray: Service by Pigtail - See Part Catalog
  • Core/Insulation Crimp: N/A
  • Release Tool/Test Probe: 15315247/J-35616-2A (GY)