LEMON Manuals: Even more car manuals for everyone: 1960-2025
Home >> Chevrolet >> 2011 >> HHR LS, Standard >> Repair and Diagnosis (Single Page) >> Quick Lookups >> Wiring Diagrams >> Wiring Systems And Power Management - Component Connector End Views - HVAC Control Assembly Through Yaw Sensor >> Component Connector End Views >> Speaker- Right Front Tweeter Connector End View
April 5, 2026: LEMON Manuals is launched! Read the announcement.

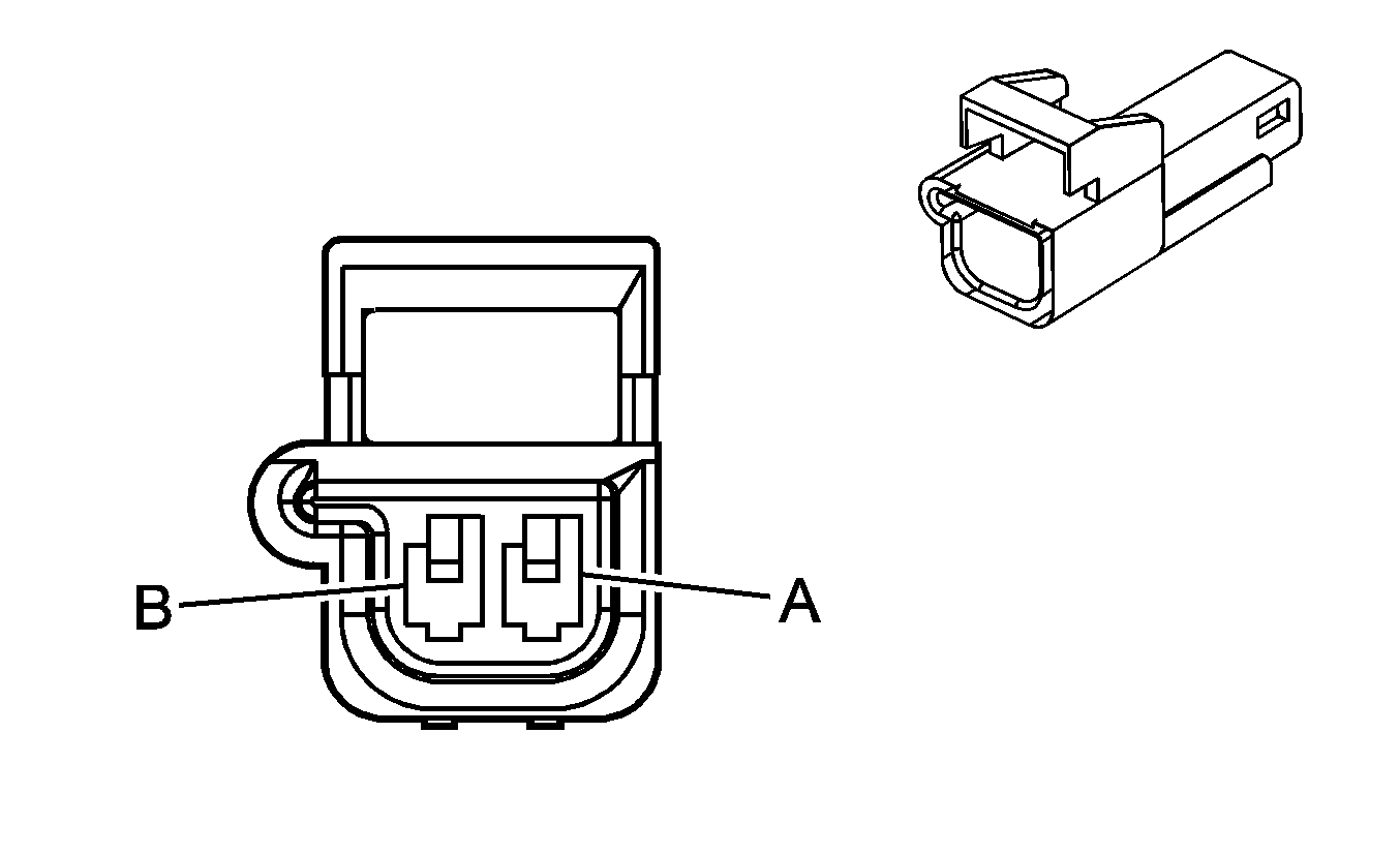
Speaker- Right Front Tweeter Connector End View

Fig 1: Speaker- Right Front Tweeter Connector End View
GM130642Courtesy of GENERAL MOTORS COMPANY
Speaker- Right Front Tweeter

Pin Wire Circuit Function
A 0.35 D-GN 117 Right Front Speaker Output (-)
B 0.35 L-GN 200 Right Front Speaker Output (+)
Connector Part Information
  • Harness: Body
  • OEM: 12103021
  • Service: 12126048
  • Description: 2-Way M Metri-Pack 150 Series (BU)
Terminal Part Information
  • Terminal/Tray: 12047581/2
  • Core/Insulation Crimp: E/C
  • Release Tool/Test Probe: 12094429/J-35616-3 (GY)