LEMON Manuals: Even more car manuals for everyone: 1960-2025
Home >> Chevrolet >> 2011 >> Impala V6-3.9L >> Repair and Diagnosis >> Locations >> Component Locations >> Instrument Panel/Center Console Component Views >> Instrument Panel Components
April 5, 2026: LEMON Manuals is launched! Read the announcement.

Instrument Panel Components




Instrument Panel/Center Console Component Views

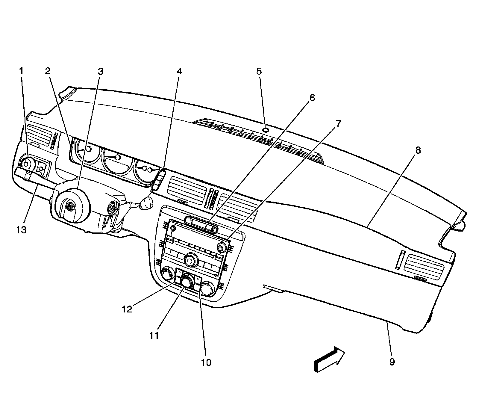
Instrument Panel Components




1 - Headlamp Switch
2 - Instrument Panel Cluster (IPC)
3 - Inflatable Restraint Steering Wheel Module Coil
4 - Driver Information Center (DIC) Switch
5 - Ambient Light Sensor
6 - Inflatable Restraint I/P Module Indicator
7 - Radio
8 - Inflatable Restraint I/P Module
9 - Instrument Panel Trim Panel
10 - Heated Seat Switch - Passenger (KA1)
11 - HVAC Control Module
12 - Heated Seat Switch - Driver (KA1)
13 - Turn Signal/Multifunction Switch