LEMON Manuals: Even more car manuals for everyone: 1960-2025
Home >> Chevrolet >> 2011 >> Volt L4-1.4L Elect >> Repair and Diagnosis >> Maintenance >> Alignment >> Service and Repair >> Front Camber Adjustment
April 5, 2026: LEMON Manuals is launched! Read the announcement.

Front Camber Adjustment




Front Camber Adjustment

1. Before performing any adjustment affecting the wheel alignment, refer to Wheel Alignment Measurement Wheel Alignment Measurement.
2. Loosen both strut to knuckle nuts just enough to allow for movement.

Note: If there is no adjustment for the camber, proceed to step 4.

3. Adjust the camber to specification by moving the top of the wheel in or out. Refer to Wheel Alignment Specifications Wheel Alignment Specifications.
4. Remove the strut assembly from the vehicle. Refer to Strut Assembly Removal and Installation Strut Assembly Removal and Installation.
5. Install the strut assembly in a soft jawed vise.





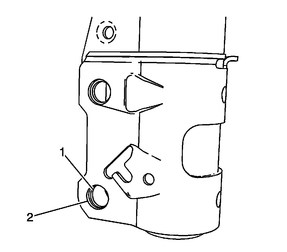
Note: The inner hole should NOT be enlarged beyond that of the outer hole.

6. Using the appropriate tool, enlarge the inner hole (1) to match the outer hole (2).
7. Install the strut assembly. Refer to Strut Assembly Removal and Installation Strut Assembly Removal and Installation.





Note: If there is no adjustment for the camber, proceed to step 4.

8. Adjust the camber to specification by moving the top of the wheel in or out. Refer to Wheel Alignment Specifications Wheel Alignment Specifications.