LEMON Manuals: Even more car manuals for everyone: 1960-2025
Home >> Chevrolet >> 2012 >> Caprice PPV V6-3.6L >> Repair and Diagnosis >> Diagrams >> Connector Views >> Control Module, A/T
April 5, 2026: LEMON Manuals is launched! Read the announcement.

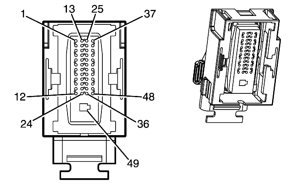
Control Module, A/T




Component Connector End Views

K71 Transmission Control Module