LEMON Manuals: Even more car manuals for everyone: 1960-2025
Home >> Chevrolet >> 2012 >> Caprice PPV V8-6.0L >> Repair and Diagnosis >> Diagrams >> Connector Views >> Engine Control Module >> Engine Control Module X2
April 5, 2026: LEMON Manuals is launched! Read the announcement.

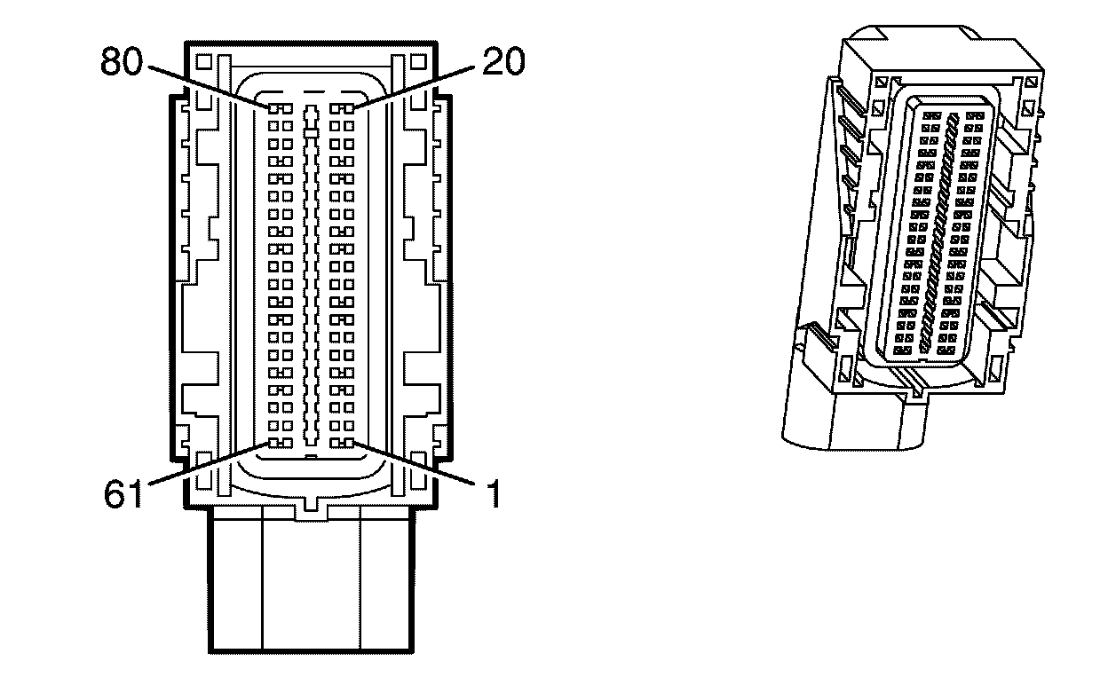
Engine Control Module X2




Component Connector End Views

K20 Engine Control Module X2